Официальное опубликование правовых актов
ОФИЦИАЛЬНОЕ ОПУБЛИКОВАНИЕ
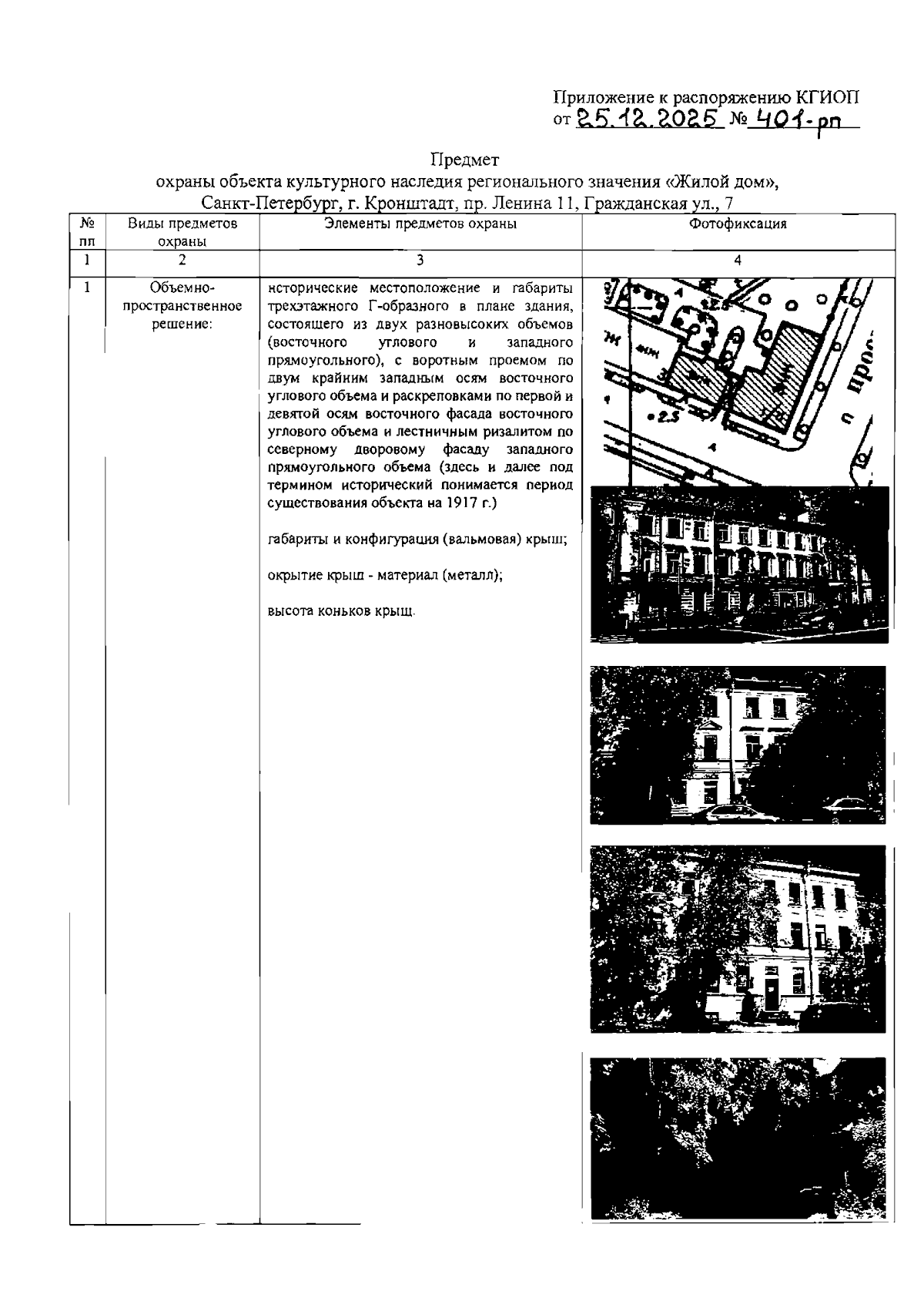
Распоряжение Комитета по государственному контролю, использованию и охране памятников истории и культуры от 25.12.2025 № 401-рп
"Об утверждении предмета охраны объекта культурного наследия регионального значения "Жилой дом"
(Зарегистрирован 25.12.2025 № 51531)
Номер опубликования: 7801202512290045
Дата опубликования: 29.12.2025
Страница №2 из 7:
Увеличить