Официальное опубликование правовых актов
ОФИЦИАЛЬНОЕ ОПУБЛИКОВАНИЕ
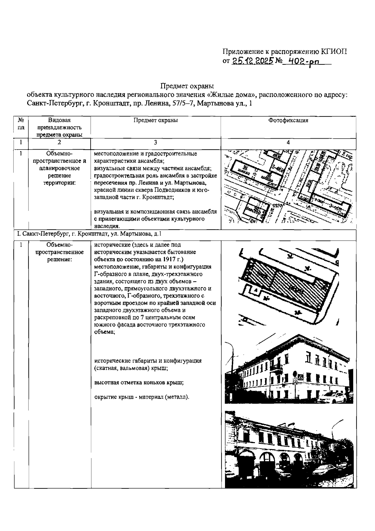
Распоряжение Комитета по государственному контролю, использованию и охране памятников истории и культуры от 25.12.2025 № 402-рп
"Об утверждении предмета охраны объекта культурного наследия регионального значения "Жилые дома"
(Зарегистрирован 25.12.2025 № 51524)
Номер опубликования: 7801202512290043
Дата опубликования: 29.12.2025
Страница №2 из 12:
Увеличить