Официальное опубликование правовых актов
ОФИЦИАЛЬНОЕ ОПУБЛИКОВАНИЕ
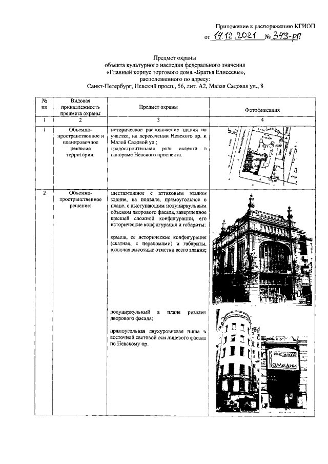
Распоряжение Комитета по государственному контролю, использованию и охране памятников истории и культуры Санкт-Петербурга от 14.12.2021 № 349-рп
"Об утверждении предмета охраны объекта культурного наследия федерального значения "Главный корпус торгового дома "Братья Елисеевы"
Номер опубликования: 7801202112170014
Дата опубликования: 17.12.2021
Страница №2 из 22:
Увеличить