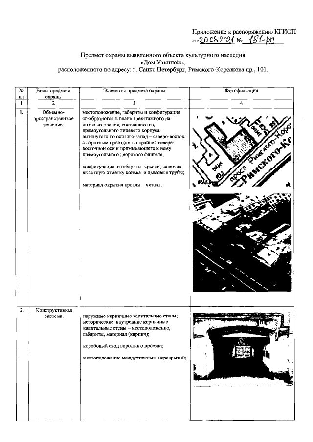
Распоряжение Комитета по государственному контролю, использованию и охране памятников истории и культуры Санкт-Петербурга от 20.08.2021 № 151-рп
"Об утверждении предмета охраны выявленного объекта культурного наследия "Дом Уткиной"
"Об утверждении предмета охраны выявленного объекта культурного наследия "Дом Уткиной"
Номер опубликования: 7801202108250001
Дата опубликования:
25.08.2021
