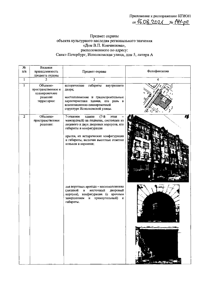
Распоряжение Комитета по государственному контролю, использованию и охране памятников истории и культуры Санкт-Петербурга от 16.08.2021 № 141-рп
"Об утверждении предмета охраны объекта культурного наследия регионального значения "Дом В.П. Кончиелова"
"Об утверждении предмета охраны объекта культурного наследия регионального значения "Дом В.П. Кончиелова"
Номер опубликования: 7801202108200005
Дата опубликования:
20.08.2021
