Официальное опубликование правовых актов
ОФИЦИАЛЬНОЕ ОПУБЛИКОВАНИЕ
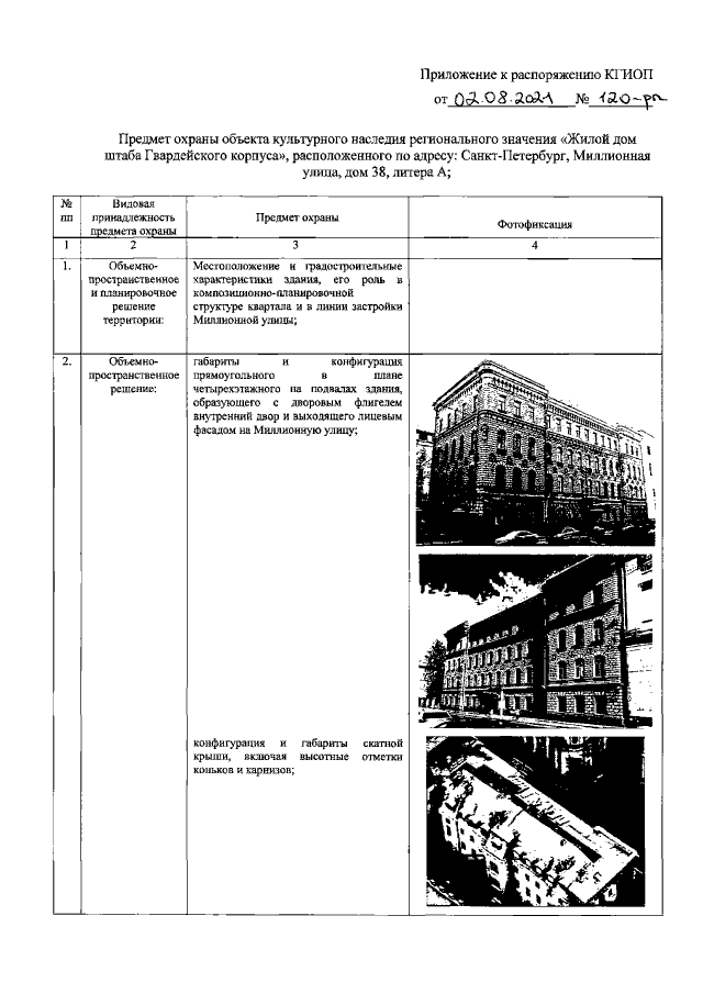
Распоряжение Комитета по государственному контролю, использованию и охране памятников истории и культуры Санкт-Петербурга от 02.08.2021 № 120-рп
"Об утверждении предмета охраны объекта культурного наследия регионального значения "Жилой дом штаба Гвардейского корпуса"
Номер опубликования: 7801202108060009
Дата опубликования: 06.08.2021
Страница №2 из 6:
Увеличить