Распоряжение Комитета по государственному контролю, использованию и охране памятников истории и культуры Санкт-Петербурга от 23.07.2021 № 113-рп
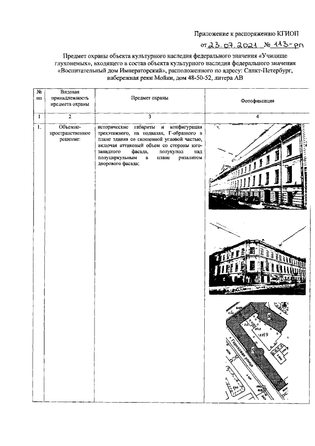
"Об утверждении предмета охраны объекта культурного наследия федерального значения "Училище глухонемых", входящего в состав объекта культурного наследия федерального значения "Воспитательный дом Императорский"
"Об утверждении предмета охраны объекта культурного наследия федерального значения "Училище глухонемых", входящего в состав объекта культурного наследия федерального значения "Воспитательный дом Императорский"
Номер опубликования: 7801202107270004
Дата опубликования:
27.07.2021
