Официальное опубликование правовых актов
ОФИЦИАЛЬНОЕ ОПУБЛИКОВАНИЕ
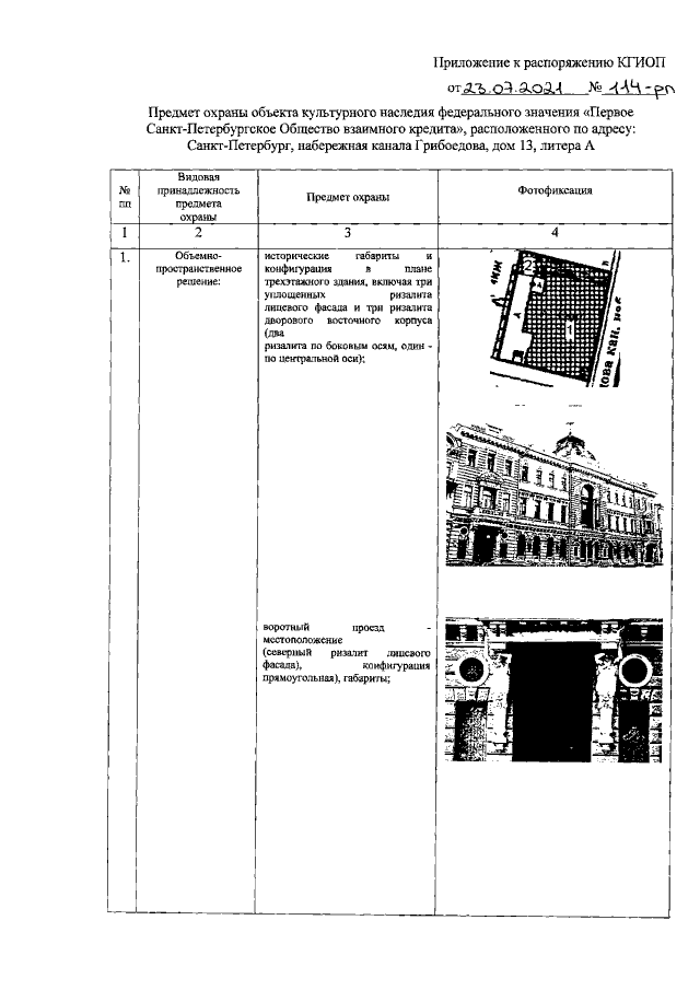
Распоряжение Комитета по государственному контролю, использованию и охране памятников истории и культуры Санкт-Петербурга от 23.07.2021 № 114-рп
"Об утверждении предмета охраны объекта культурного наследия федерального значения "Первое Санкт-Петербургское Общество взаимного кредита"
Номер опубликования: 7801202107270002
Дата опубликования: 27.07.2021
Страница №2 из 60:
Увеличить