Официальное опубликование правовых актов
ОФИЦИАЛЬНОЕ ОПУБЛИКОВАНИЕ
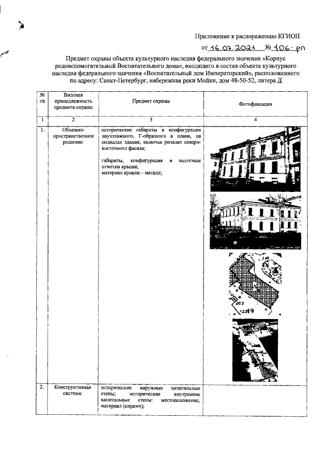
Распоряжение Комитета по государственному контролю, использованию и охране памятников истории и культуры Санкт-Петербурга от 16.07.2021 № 106-рп
"Об утверждении предмета охраны объекта культурного наследия федерального значения "Корпус родовспомогательный Воспитательного дома", входящего в состав объекта культурного наследия федерального значения "Воспитательный дом Императорский"
Номер опубликования: 7801202107220014
Дата опубликования: 22.07.2021
Страница №2 из 5:
Увеличить