Официальное опубликование правовых актов
ОФИЦИАЛЬНОЕ ОПУБЛИКОВАНИЕ
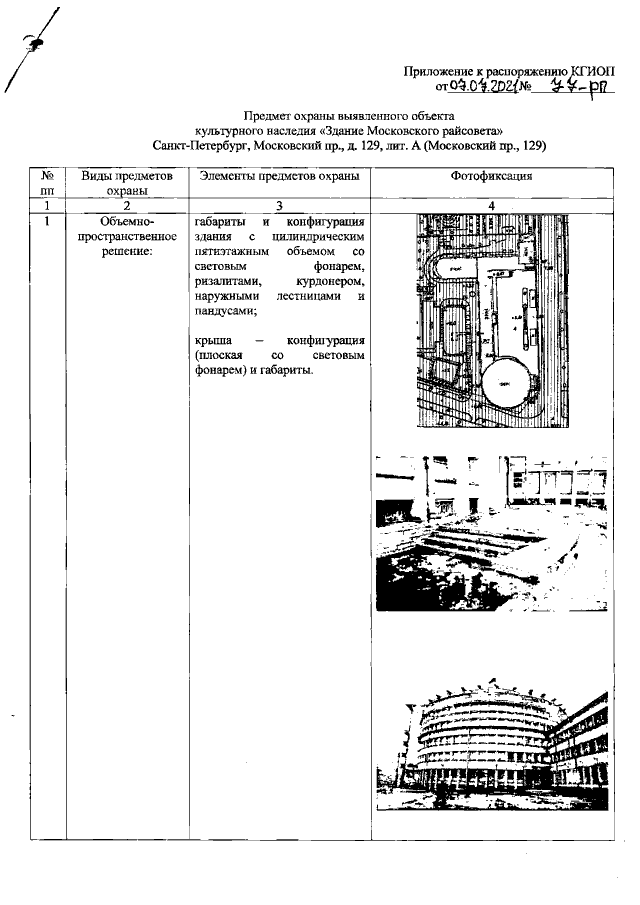
Распоряжение Комитета по государственному контролю, использованию и охране памятников истории и культуры Санкт-Петербурга от 07.07.2021 № 77-рп
"Об утверждении предмета охраны выявленного объекта культурного наследия "Здание Московского райсовета"
Номер опубликования: 7801202107160003
Дата опубликования: 16.07.2021
Страница №2 из 12:
Увеличить