Официальное опубликование правовых актов
ОФИЦИАЛЬНОЕ ОПУБЛИКОВАНИЕ
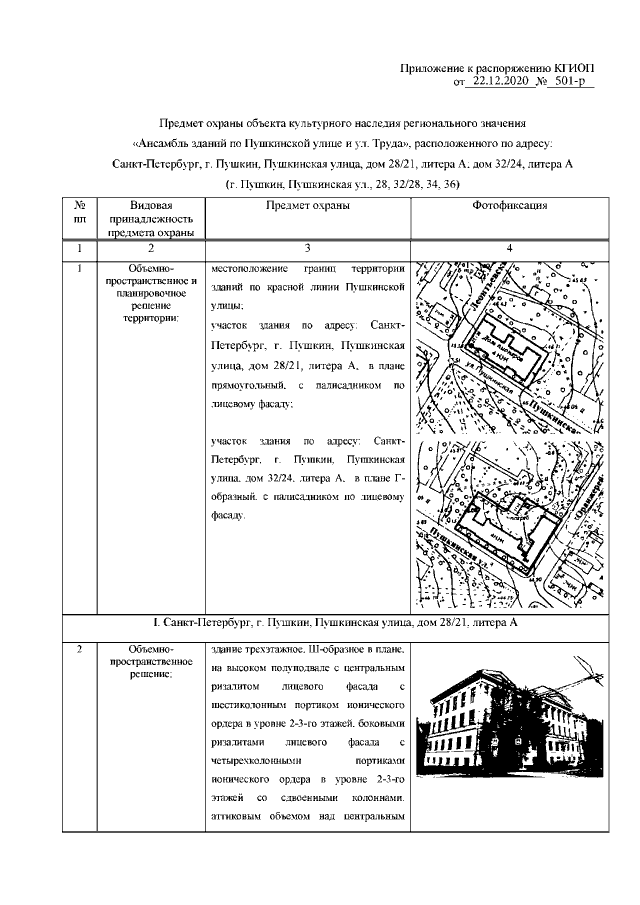
Распоряжение Комитета по государственному контролю, использованию и охране памятников истории и культуры Санкт-Петербурга от 22.12.2020 № 501-р
"Об утверждении предмета охраны объекта культурного наследия регионального значения "Ансамбль зданий по Пушкинской улице и ул. Труда"
Номер опубликования: 7801202012310009
Дата опубликования: 31.12.2020
Страница №2 из 12:
Увеличить