Официальное опубликование правовых актов
ОФИЦИАЛЬНОЕ ОПУБЛИКОВАНИЕ
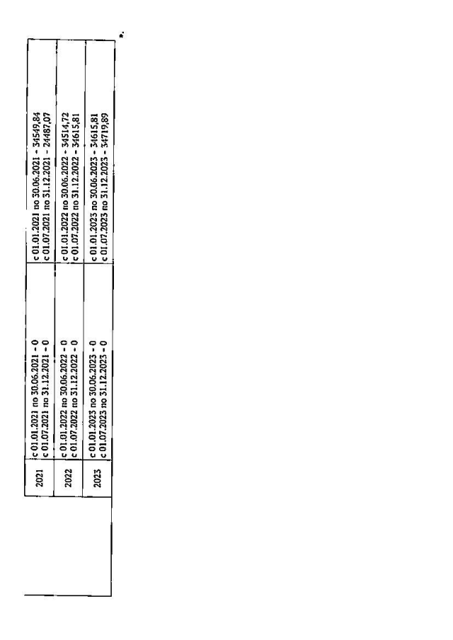
Приказ Департамента тарифной политики, энергетики и жилищно-коммунального комплекса Ямало-Ненецкого автономного округа от 03.12.2020 № 163-т
"О внесении изменения в приложение № 1 к приказу департамента тарифной политики, энергетики и жилищно-коммунального комплекса Ямало-Ненецкого автономного округа от 10 декабря 2018 года № 187-т"
(Зарегистрирован 07.12.2020 № 562)
Номер опубликования: 8901202012080023
Дата опубликования: 08.12.2020
Страница №3 из 3:
Увеличить