Официальное опубликование правовых актов
ОФИЦИАЛЬНОЕ ОПУБЛИКОВАНИЕ
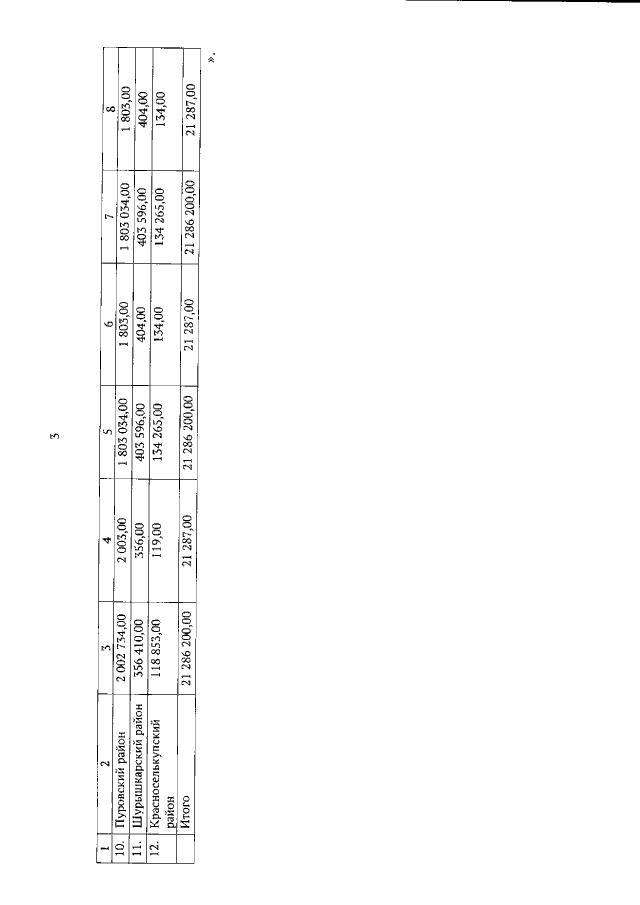
Постановление Правительства Ямало-Ненецкого автономного округа от 07.02.2020 № 108-П
"О внесении изменений в постановление Правительства Ямало-Ненецкого автономного округа от 26 декабря 2019 года № 1418-П"
Номер опубликования: 8900202002140017
Дата опубликования: 14.02.2020
Страница №4 из 4:
Увеличить