Официальное опубликование правовых актов
ОФИЦИАЛЬНОЕ ОПУБЛИКОВАНИЕ
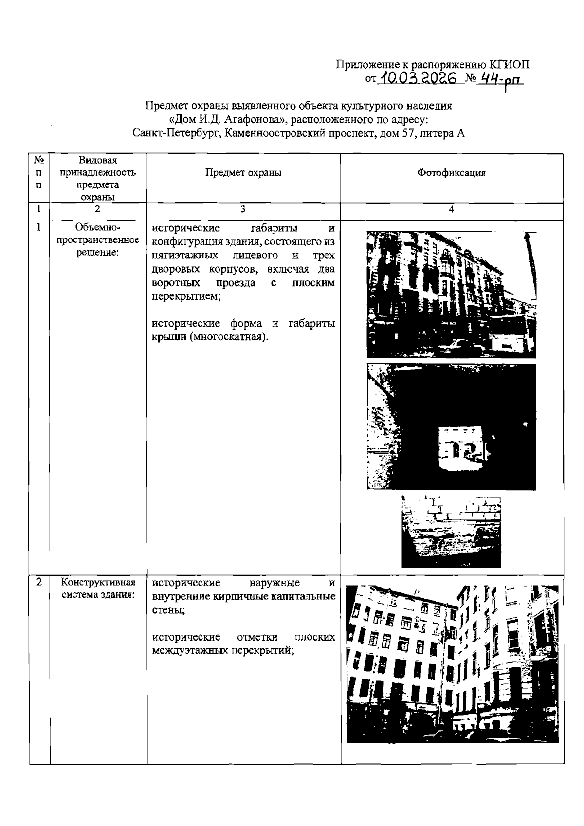
Распоряжение Комитета по государственному контролю, использованию и охране памятников истории и культуры от 10.03.2026 № 44-рп
"Об утверждении предмета охраны выявленного объекта культурного наследия "Дом И.Д. Агафонова"
(Зарегистрирован 12.03.2026 № 53004)
Номер опубликования: 7801202603130004
Дата опубликования: 13.03.2026
Страница №2 из 33:
Увеличить