Официальное опубликование правовых актов
ОФИЦИАЛЬНОЕ ОПУБЛИКОВАНИЕ
Распоряжение Комитета по государственному контролю, использованию и охране памятников истории и культуры от 30.12.2025 № 439-рп
"Об утверждении предмета охраны объекта культурного наследия регионального значения "Мемориальная квартира-мастерская художников В.В.Стерлигова и Т.Н.Глебовой"
(Зарегистрирован 30.12.2025 № 51676)
Номер опубликования: 7801202512300089
Дата опубликования: 30.12.2025
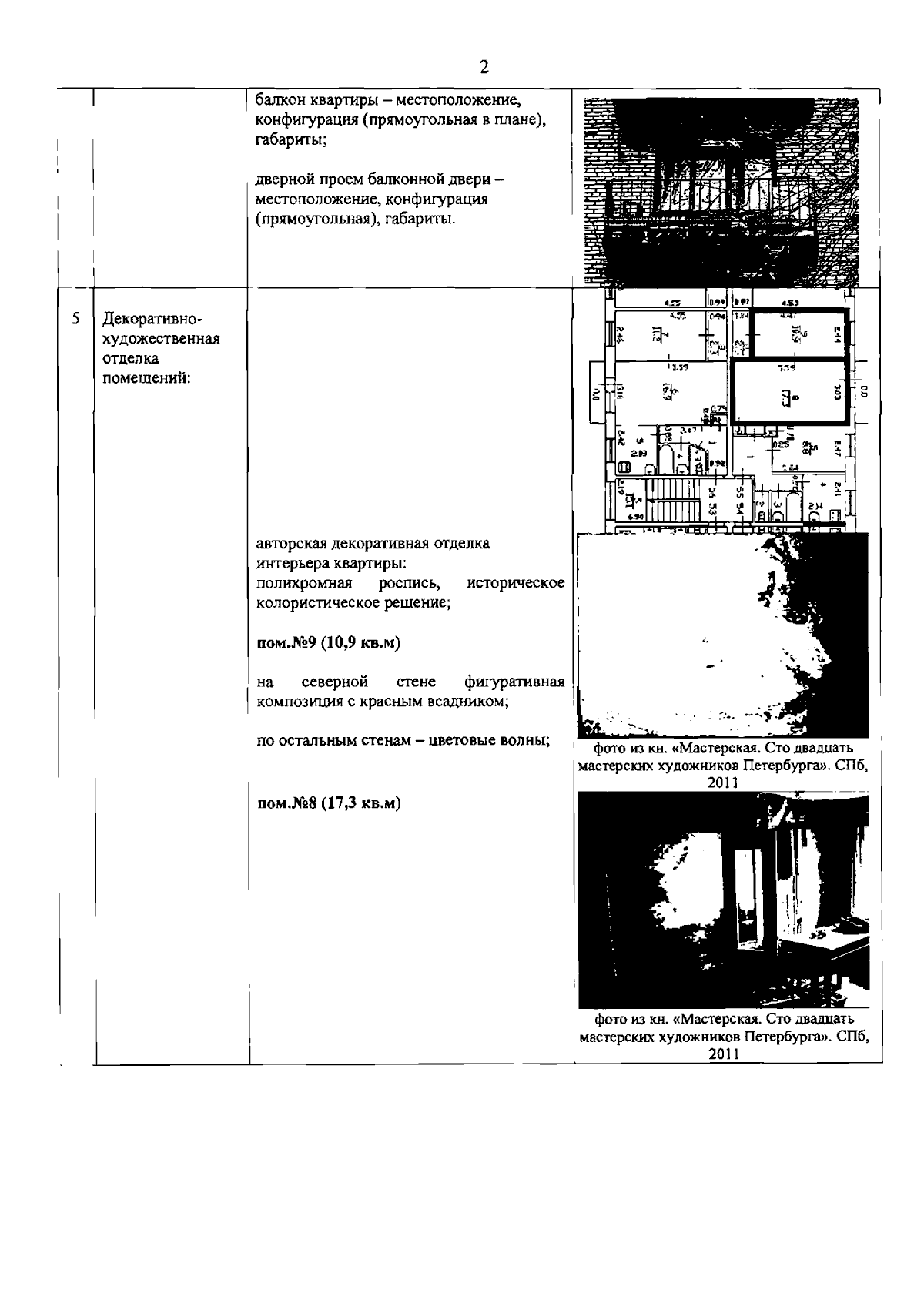
Страница №3 из 4:
Увеличить