Официальное опубликование правовых актов
ОФИЦИАЛЬНОЕ ОПУБЛИКОВАНИЕ
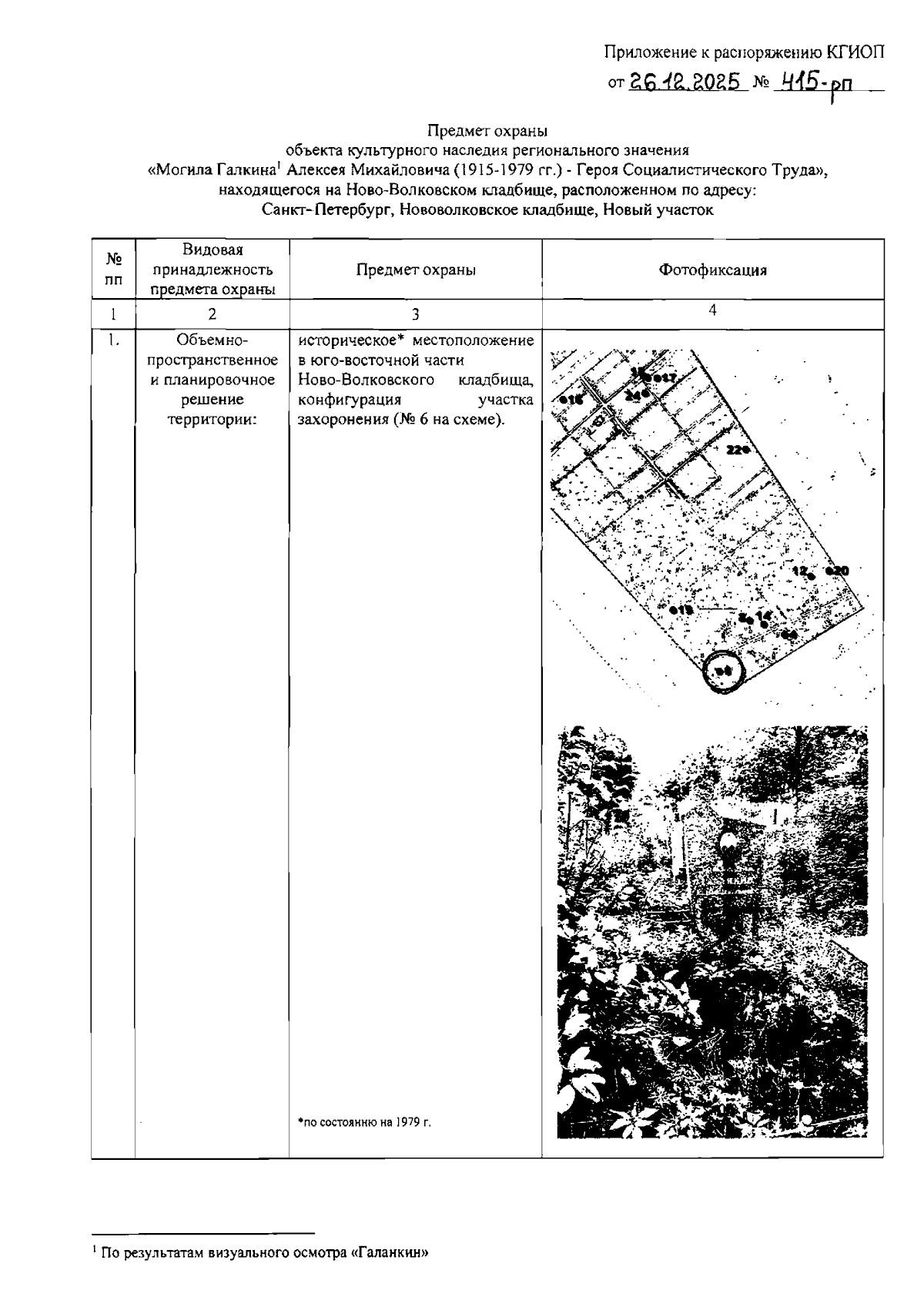
Распоряжение Комитета по государственному контролю, использованию и охране памятников истории и культуры от 26.12.2025 № 415-рп
"Об утверждении предмета охраны объекта культурного наследия регионального значения "Могила Галкина Алексея Михайловича (1915-1979 гг.) - Героя Социалистического Труда"
(Зарегистрирован 29.12.2025 № 51583)
Номер опубликования: 7801202512300043
Дата опубликования: 30.12.2025
Страница №2 из 3:
Увеличить