Распоряжение Комитета по государственному контролю, использованию и охране памятников истории и культуры от 25.12.2025 № 409-рп
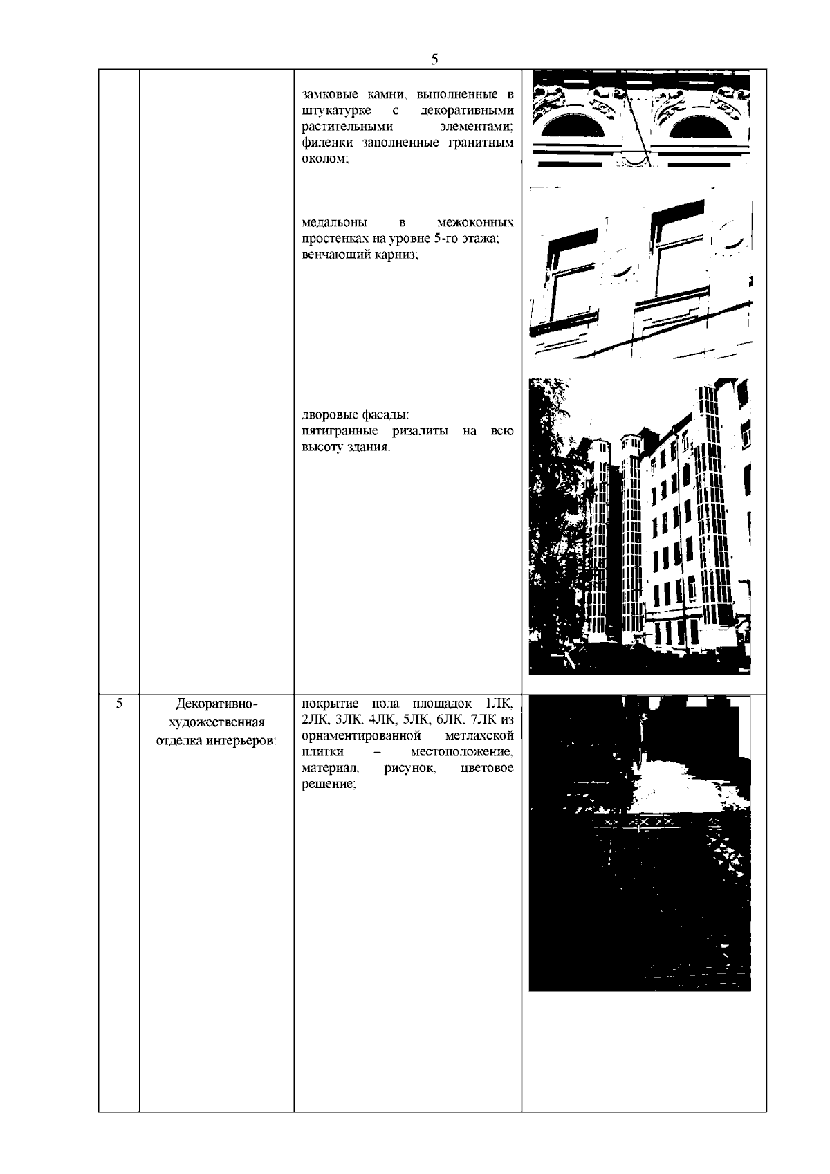
"О включении выявленного объекта культурного наследия в единый государственный реестр объектов культурного наследия (памятников истории и культуры) народов Российской Федерации в качестве объекта культурного наследия регионального значения "Дом В.Н. Крестина", об утверждении границ и режима использования территории объекта культурного наследия, об утверждении предмета охраны объекта культурного наследия"
(Зарегистрирован 29.12.2025 № 51567)
"О включении выявленного объекта культурного наследия в единый государственный реестр объектов культурного наследия (памятников истории и культуры) народов Российской Федерации в качестве объекта культурного наследия регионального значения "Дом В.Н. Крестина", об утверждении границ и режима использования территории объекта культурного наследия, об утверждении предмета охраны объекта культурного наследия"
(Зарегистрирован 29.12.2025 № 51567)
Номер опубликования: 7801202512290064
Дата опубликования:
29.12.2025
