Официальное опубликование правовых актов
ОФИЦИАЛЬНОЕ ОПУБЛИКОВАНИЕ
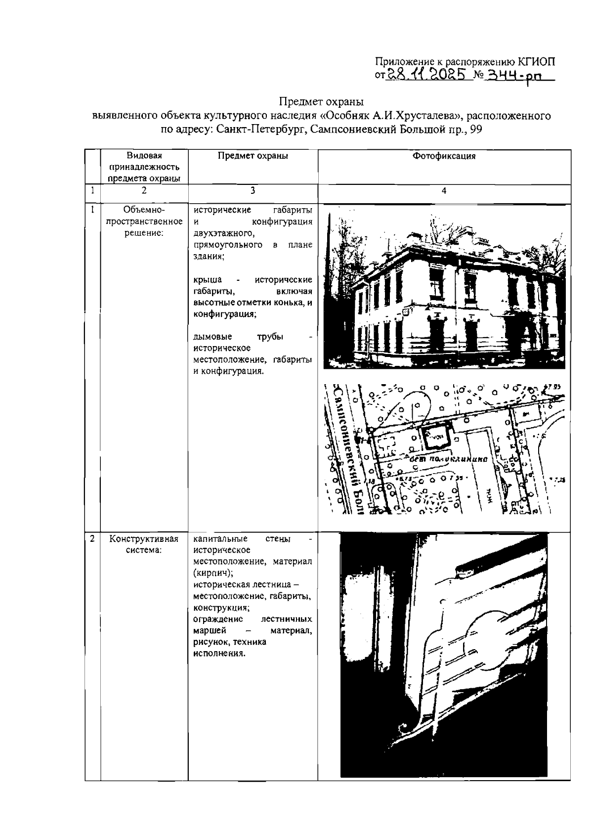
Распоряжение Комитета по государственному контролю, использованию и охране памятников истории и культуры от 28.11.2025 № 344-рп
"Об утверждении предмета охраны выявленного объекта культурного наследия "Особняк А.И.Хрусталева"
(Зарегистрирован 28.11.2025 № 51304)
Номер опубликования: 7801202512030004
Дата опубликования: 03.12.2025
Страница №2 из 4:
Увеличить