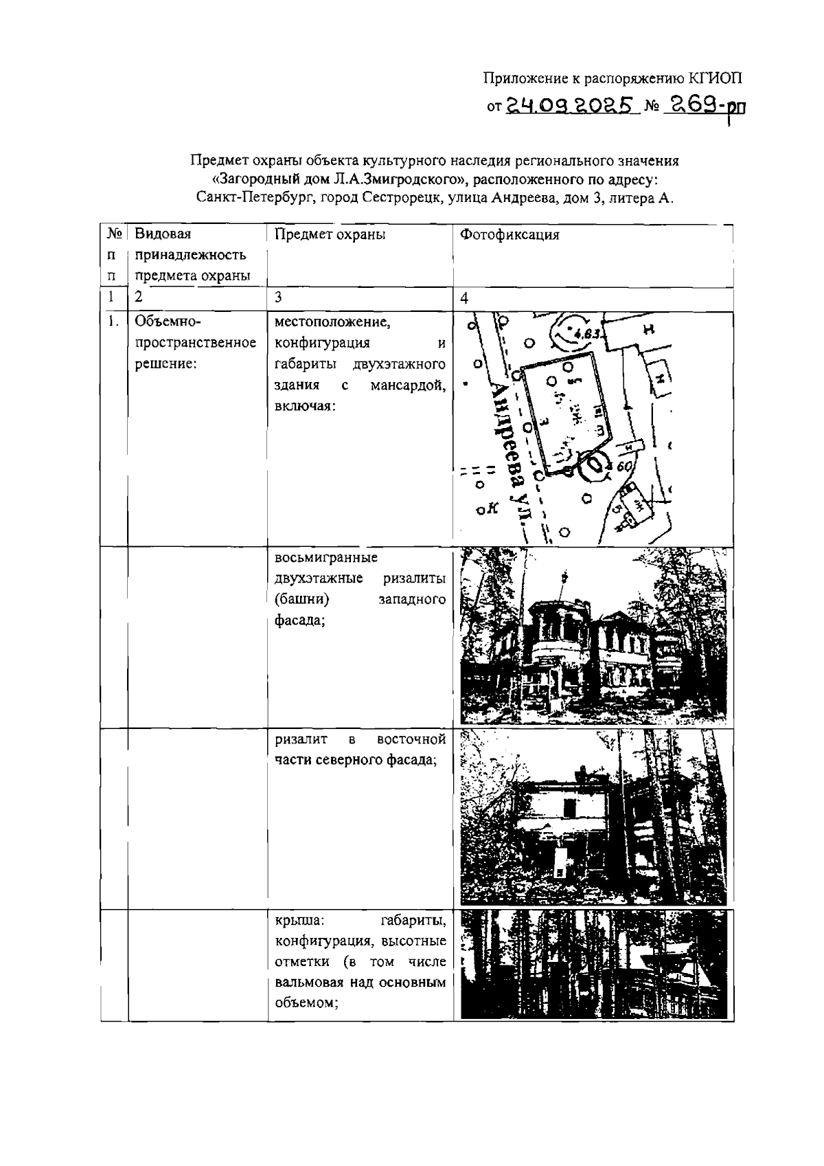
Распоряжение Комитета по государственному контролю, использованию и охране памятников истории и культуры от 24.09.2025 № 269-рп
"Об утверждении предмета охраны объекта культурного наследия регионального значения "Загородный дом Л.А.Змигродского"
(Зарегистрирован 24.09.2025 № 50977)
"Об утверждении предмета охраны объекта культурного наследия регионального значения "Загородный дом Л.А.Змигродского"
(Зарегистрирован 24.09.2025 № 50977)
Номер опубликования: 7801202509290001
Дата опубликования:
29.09.2025