Официальное опубликование правовых актов
ОФИЦИАЛЬНОЕ ОПУБЛИКОВАНИЕ
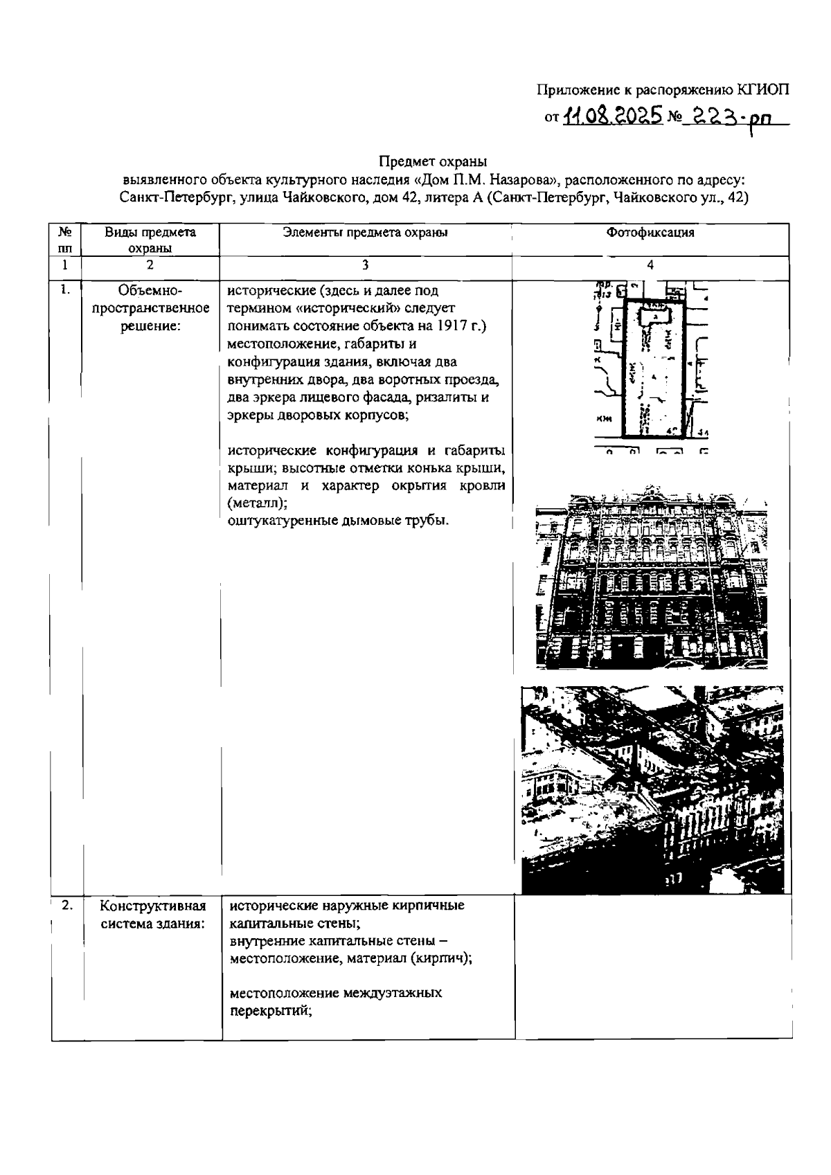
Распоряжение Комитета по государственному контролю, использованию и охране памятников истории и культуры от 11.08.2025 № 223-рп
"Об утверждении предмета охраны выявленного объекта культурного наследия "Дом П.М. Назарова"
(Зарегистрирован 11.08.2025 № 50779)
Номер опубликования: 7801202508180002
Дата опубликования: 18.08.2025
Страница №2 из 34:
Увеличить