Официальное опубликование правовых актов
ОФИЦИАЛЬНОЕ ОПУБЛИКОВАНИЕ
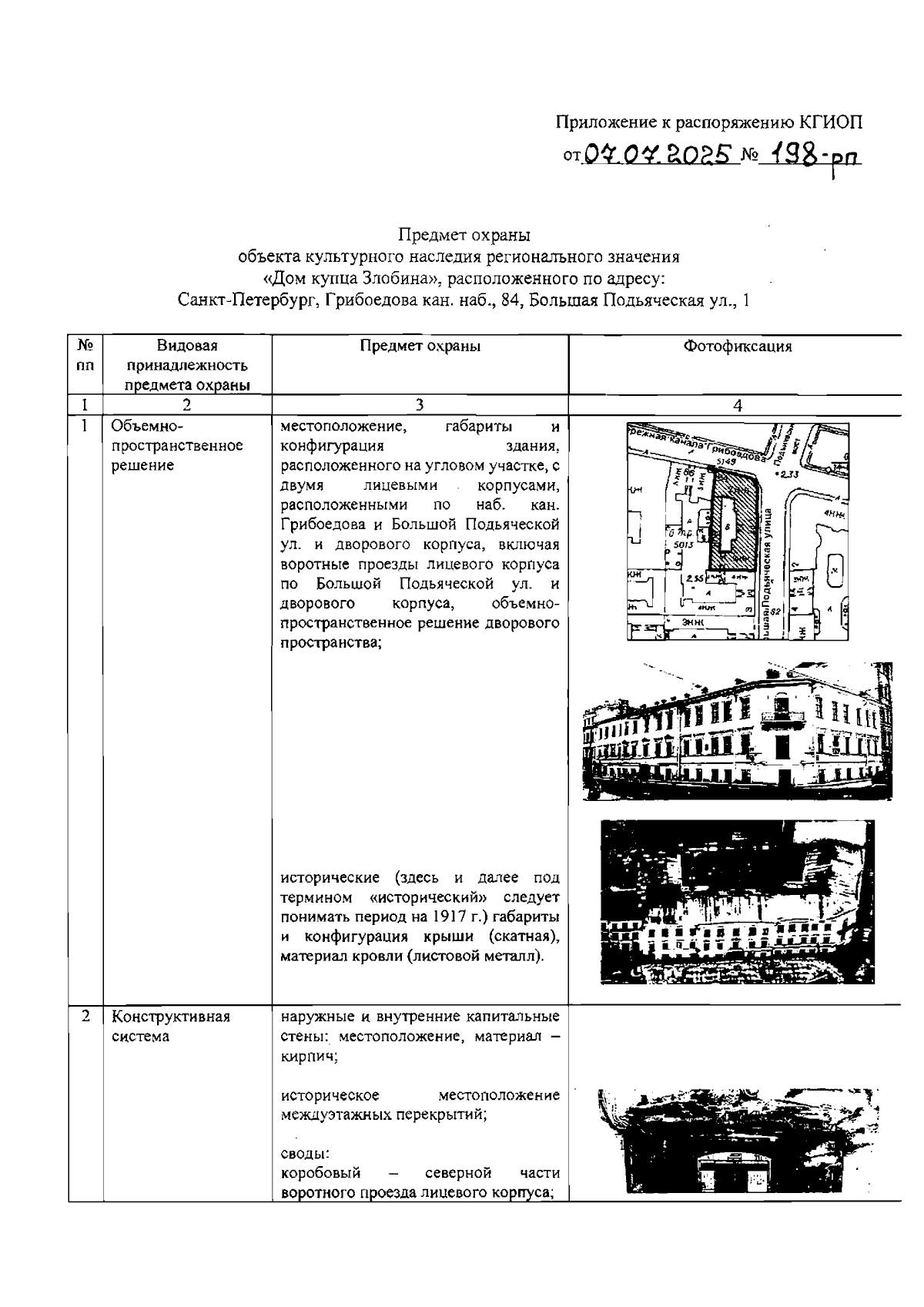
Распоряжение Комитета по государственному контролю, использованию и охране памятников истории и культуры от 07.07.2025 № 198-рп
"Об утверждении предмета охраны объекта культурного наследия регионального значения "Дом купца Злобина"
(Зарегистрирован 08.07.2025 № 50629)
Номер опубликования: 7801202507090003
Дата опубликования: 09.07.2025
Страница №2 из 6:
Увеличить