Распоряжение Комитета по государственному контролю, использованию и охране памятников истории и культуры от 20.11.2024 № 1406-рп
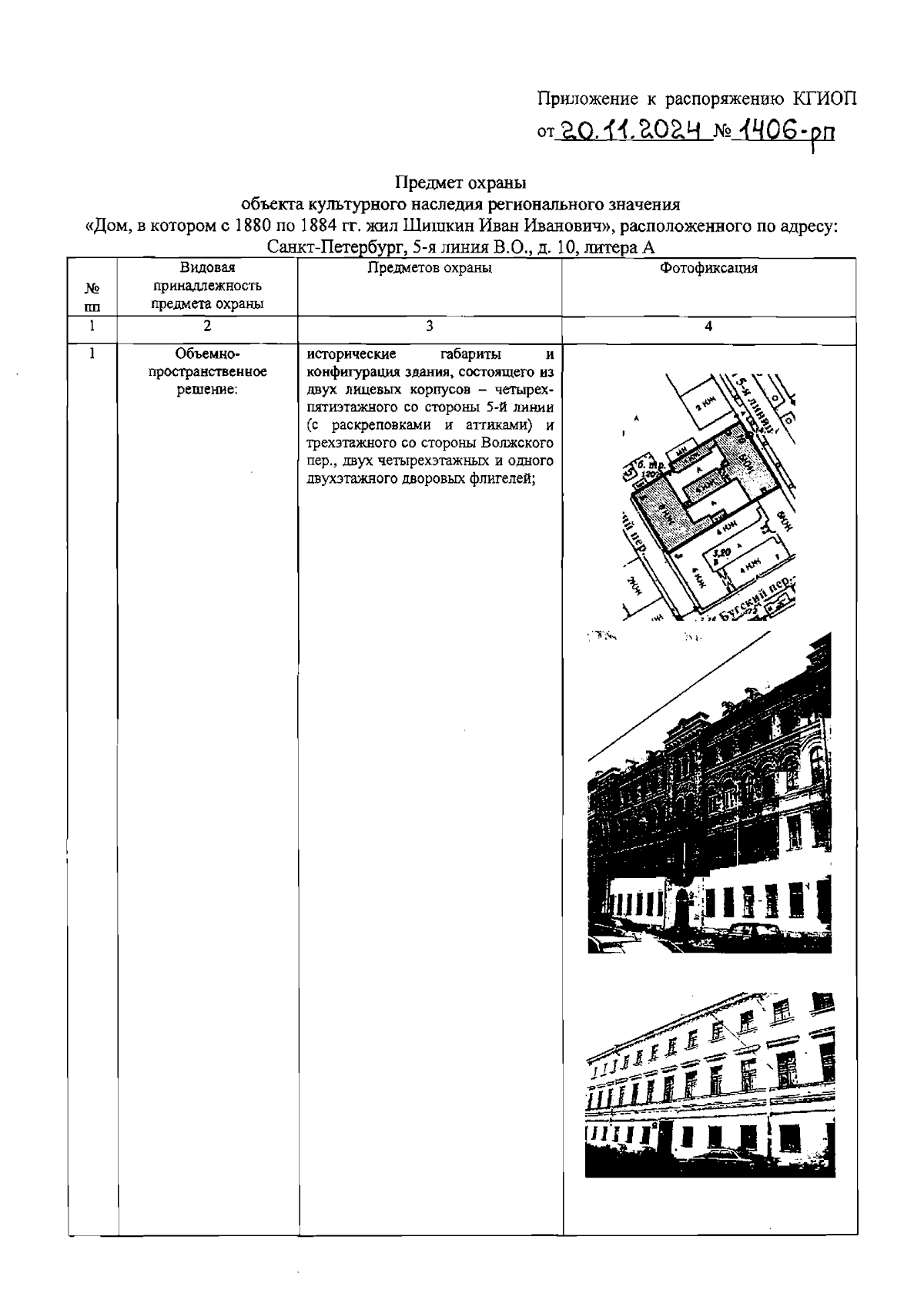
"Об утверждении предмета охраны объекта культурного наследия регионального значения "Дом, в котором с 1880 по 1884 гг. жил Шишкин Иван Иванович"
(Зарегистрирован 21.11.2024 № 49347)
"Об утверждении предмета охраны объекта культурного наследия регионального значения "Дом, в котором с 1880 по 1884 гг. жил Шишкин Иван Иванович"
(Зарегистрирован 21.11.2024 № 49347)
Номер опубликования: 7801202411260019
Дата опубликования:
26.11.2024
