Официальное опубликование правовых актов
ОФИЦИАЛЬНОЕ ОПУБЛИКОВАНИЕ
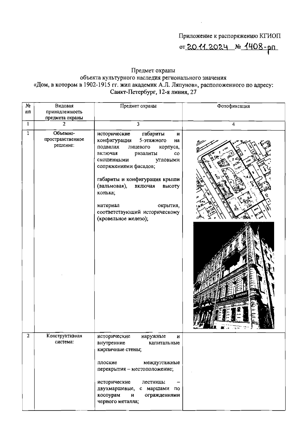
Распоряжение Комитета по государственному контролю, использованию и охране памятников истории и культуры от 20.11.2024 № 1408-рп
"Об утверждении предмета охраны объекта культурного наследия регионального значения "Дом, в котором в 1902-1915 гг. жил академик А.М. Ляпунов"
(Зарегистрирован 21.11.2024 № 49346)
Номер опубликования: 7801202411260018
Дата опубликования: 26.11.2024
Страница №2 из 5:
Увеличить