Официальное опубликование правовых актов
ОФИЦИАЛЬНОЕ ОПУБЛИКОВАНИЕ
Распоряжение Комитета по государственному контролю, использованию и охране памятников истории и культуры от 07.10.2024 № 1272-рп
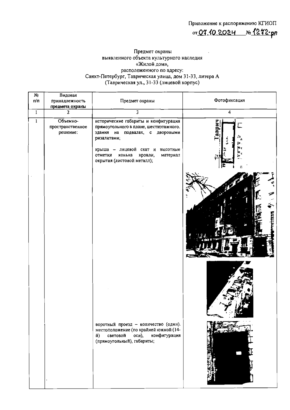
"Об утверждении предмета охраны выявленного объекта культурного наследия "Жилой дом"
(Зарегистрирован 08.10.2024 № 49058)
Номер опубликования: 7801202410100001
Дата опубликования: 10.10.2024
Страница №2 из 9:
Увеличить