Официальное опубликование правовых актов
ОФИЦИАЛЬНОЕ ОПУБЛИКОВАНИЕ
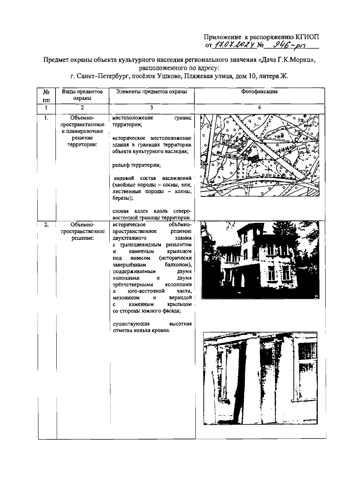
Распоряжение Комитета по государственному контролю, использованию и охране памятников истории и культуры Санкт-Петербурга от 17.07.2024 № 946-рп
"Об утверждении предмета охраны объекта культурного наследия регионального значения "Дача Г.К.Мориц"
(Зарегистрирован 18.07.2024 № 48438)
Номер опубликования: 7801202407220011
Дата опубликования: 22.07.2024
Страница №2 из 6:
Увеличить