Официальное опубликование правовых актов
ОФИЦИАЛЬНОЕ ОПУБЛИКОВАНИЕ
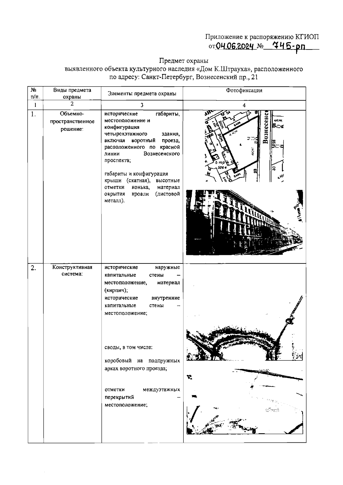
Распоряжение Комитета по государственному контролю, использованию и охране памятников истории и культуры Санкт-Петербурга от 04.06.2024 № 745-рп
"Об утверждении предмета охраны выявленного объекта культурного наследия "Дом К.Штрауха"
(Зарегистрирован 05.06.2024 № 48044)
Номер опубликования: 7801202406100022
Дата опубликования: 10.06.2024
Страница №2 из 8:
Увеличить