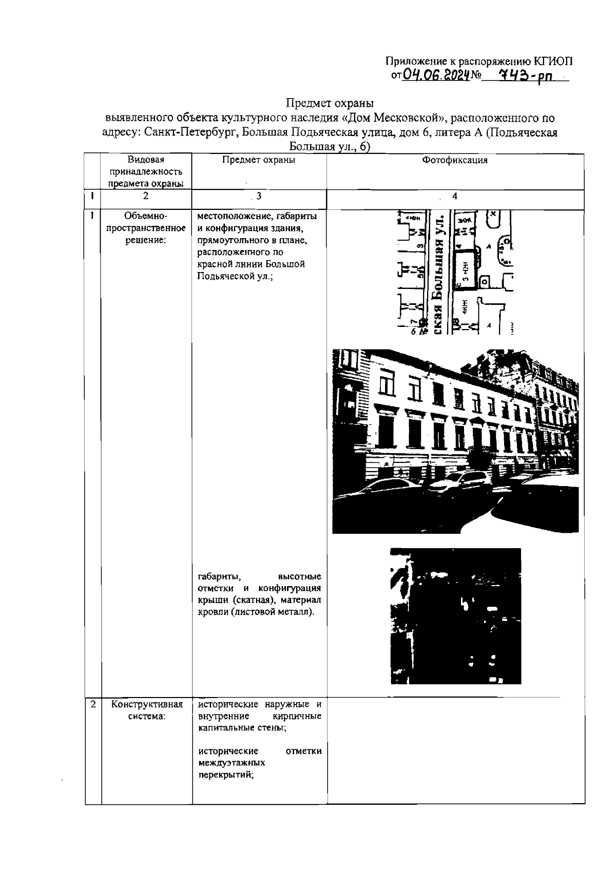
Распоряжение Комитета по государственному контролю, использованию и охране памятников истории и культуры Санкт-Петербурга от 04.06.2024 № 743-рп
"Об утверждении предмета охраны выявленного объекта культурного наследия "Дом Месковской"
(Зарегистрирован 05.06.2024 № 48039)
"Об утверждении предмета охраны выявленного объекта культурного наследия "Дом Месковской"
(Зарегистрирован 05.06.2024 № 48039)
Номер опубликования: 7801202406100021
Дата опубликования:
10.06.2024
