Официальное опубликование правовых актов
ОФИЦИАЛЬНОЕ ОПУБЛИКОВАНИЕ
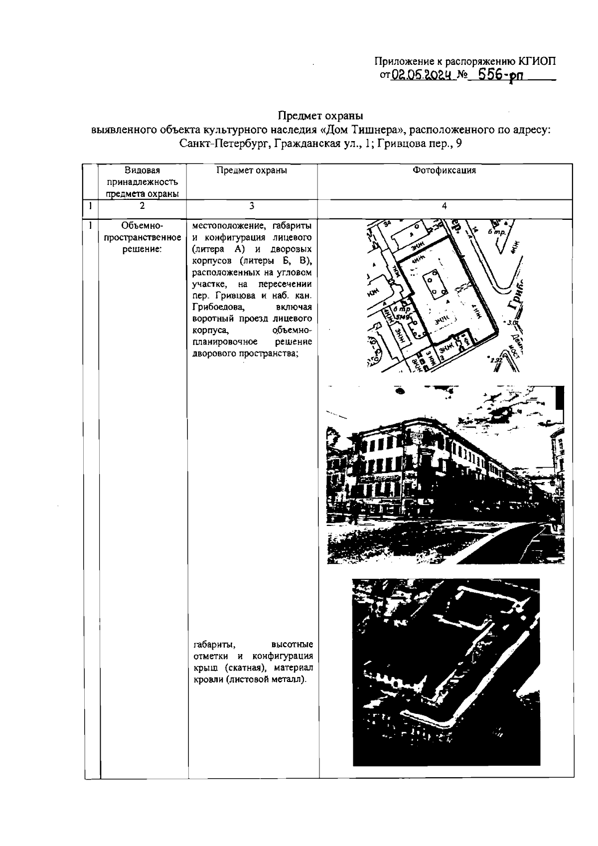
Распоряжение Комитета по государственному контролю, использованию и охране памятников истории и культуры Санкт-Петербурга от 02.05.2024 № 556-рп
"Об утверждении предмета охраны выявленного объекта культурного наследия "Дом Тишнера"
(Зарегистрирован 07.05.2024 № 47702)
Номер опубликования: 7801202405080021
Дата опубликования: 08.05.2024
Страница №2 из 7:
Увеличить