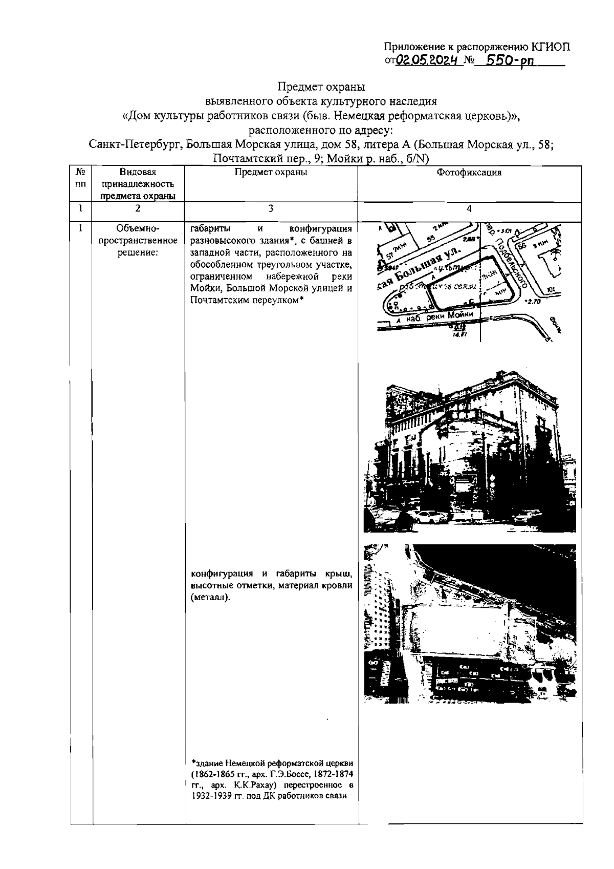
Распоряжение Комитета по государственному контролю, использованию и охране памятников истории и культуры Санкт-Петербурга от 02.05.2024 № 550-рп
"Об утверждении предмета охраны выявленного объекта культурного наследия "Дом культуры работников связи (быв. Немецкая реформатская церковь)"
(Зарегистрирован 06.05.2024 № 47695)
"Об утверждении предмета охраны выявленного объекта культурного наследия "Дом культуры работников связи (быв. Немецкая реформатская церковь)"
(Зарегистрирован 06.05.2024 № 47695)
Номер опубликования: 7801202405070018
Дата опубликования:
07.05.2024
