Распоряжение Комитета по государственному контролю, использованию и охране памятников истории и культуры Санкт-Петербурга от 24.04.2024 № 514-рп
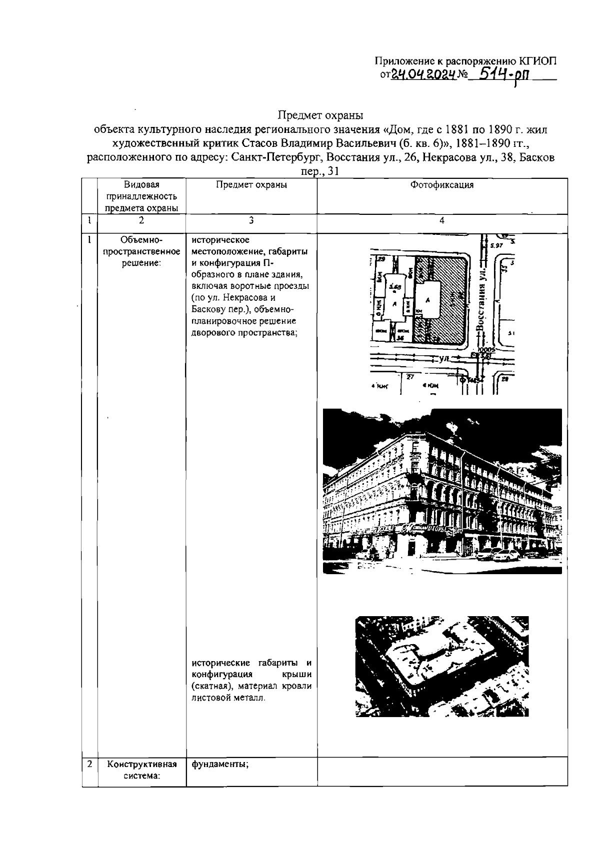
"Об утверждении предмета охраны объекта культурного наследия регионального значения "Дом, где с 1881 по 1890 г. жил художественный критик Стасов Владимир Васильевич (б. кв. 6)"
(Зарегистрирован 25.04.2024 № 47625)
"Об утверждении предмета охраны объекта культурного наследия регионального значения "Дом, где с 1881 по 1890 г. жил художественный критик Стасов Владимир Васильевич (б. кв. 6)"
(Зарегистрирован 25.04.2024 № 47625)
Номер опубликования: 7801202404270010
Дата опубликования:
27.04.2024
