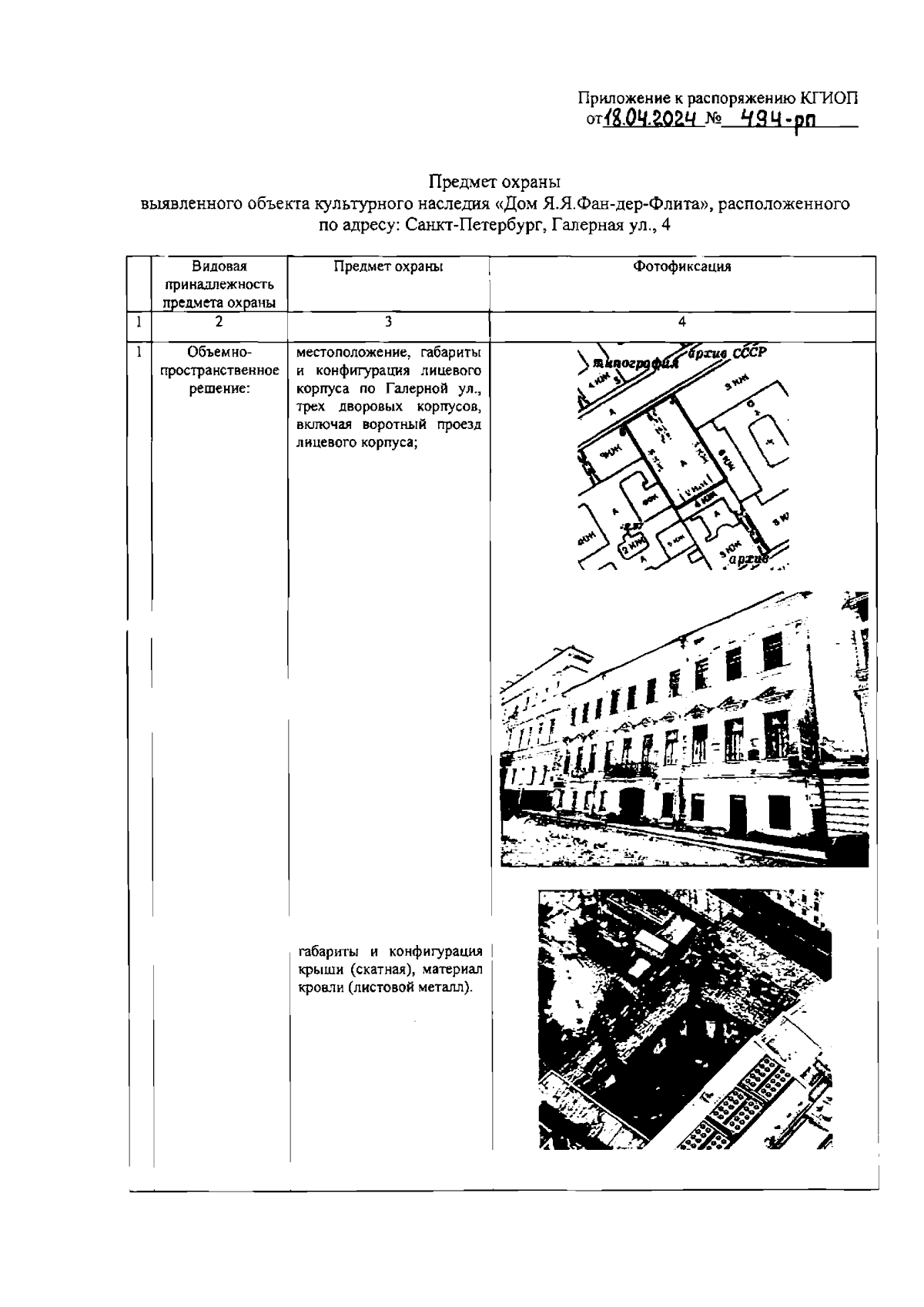
Распоряжение Комитета по государственному контролю, использованию и охране памятников истории и культуры Санкт-Петербурга от 18.04.2024 № 494-рп
"Об утверждении предмета охраны выявленного объекта культурного наследия "Дом Я.Я.Фан-дер-Флита"
(Зарегистрирован 19.04.2024 № 47579)
"Об утверждении предмета охраны выявленного объекта культурного наследия "Дом Я.Я.Фан-дер-Флита"
(Зарегистрирован 19.04.2024 № 47579)
Номер опубликования: 7801202404230007
Дата опубликования:
23.04.2024
