Официальное опубликование правовых актов
ОФИЦИАЛЬНОЕ ОПУБЛИКОВАНИЕ
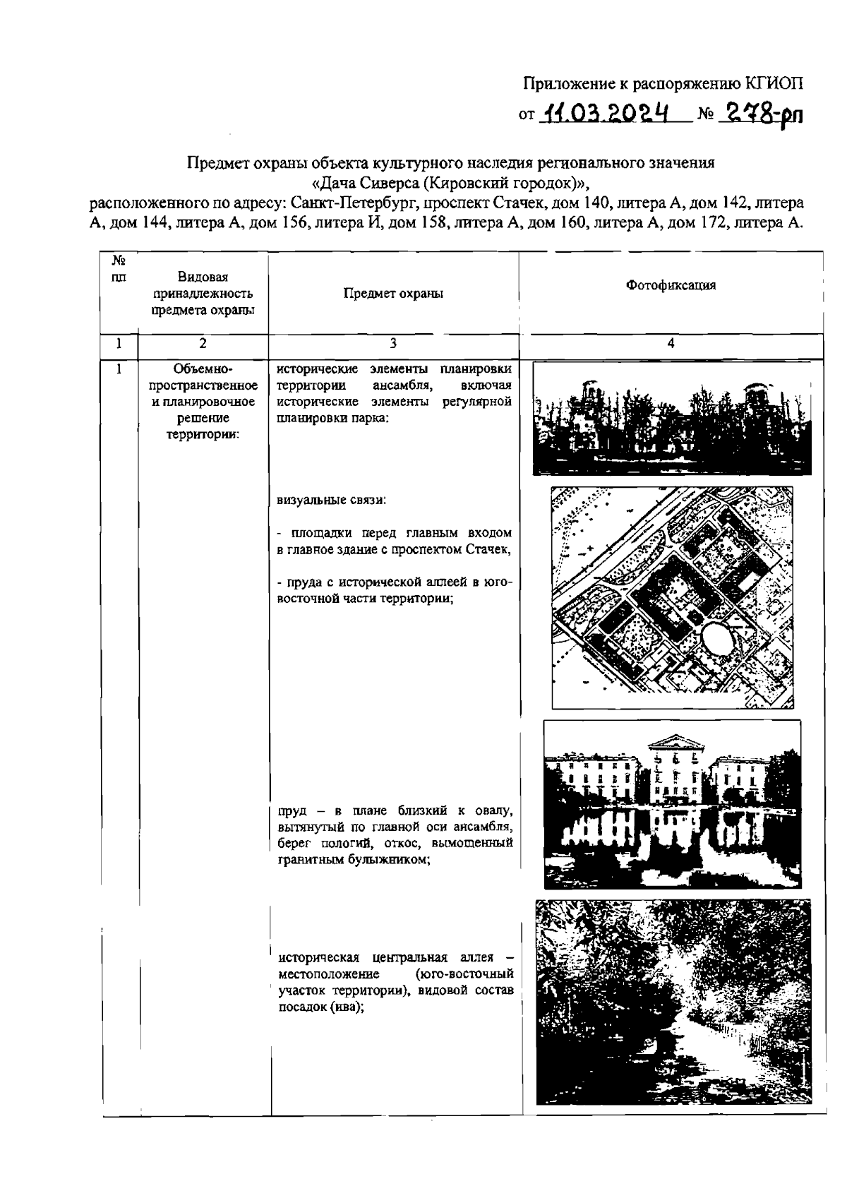
Распоряжение Комитета по государственному контролю, использованию и охране памятников истории и культуры Санкт-Петербурга от 11.03.2024 № 278-рп
"Об утверждении предмета охраны объекта культурного наследия регионального значения "Дача Сиверса (Кировский городок)"
(Зарегистрирован 12.03.2024 № 37221)
Номер опубликования: 7801202403130014
Дата опубликования: 13.03.2024
Страница №2 из 20:
Увеличить