Официальное опубликование правовых актов
ОФИЦИАЛЬНОЕ ОПУБЛИКОВАНИЕ
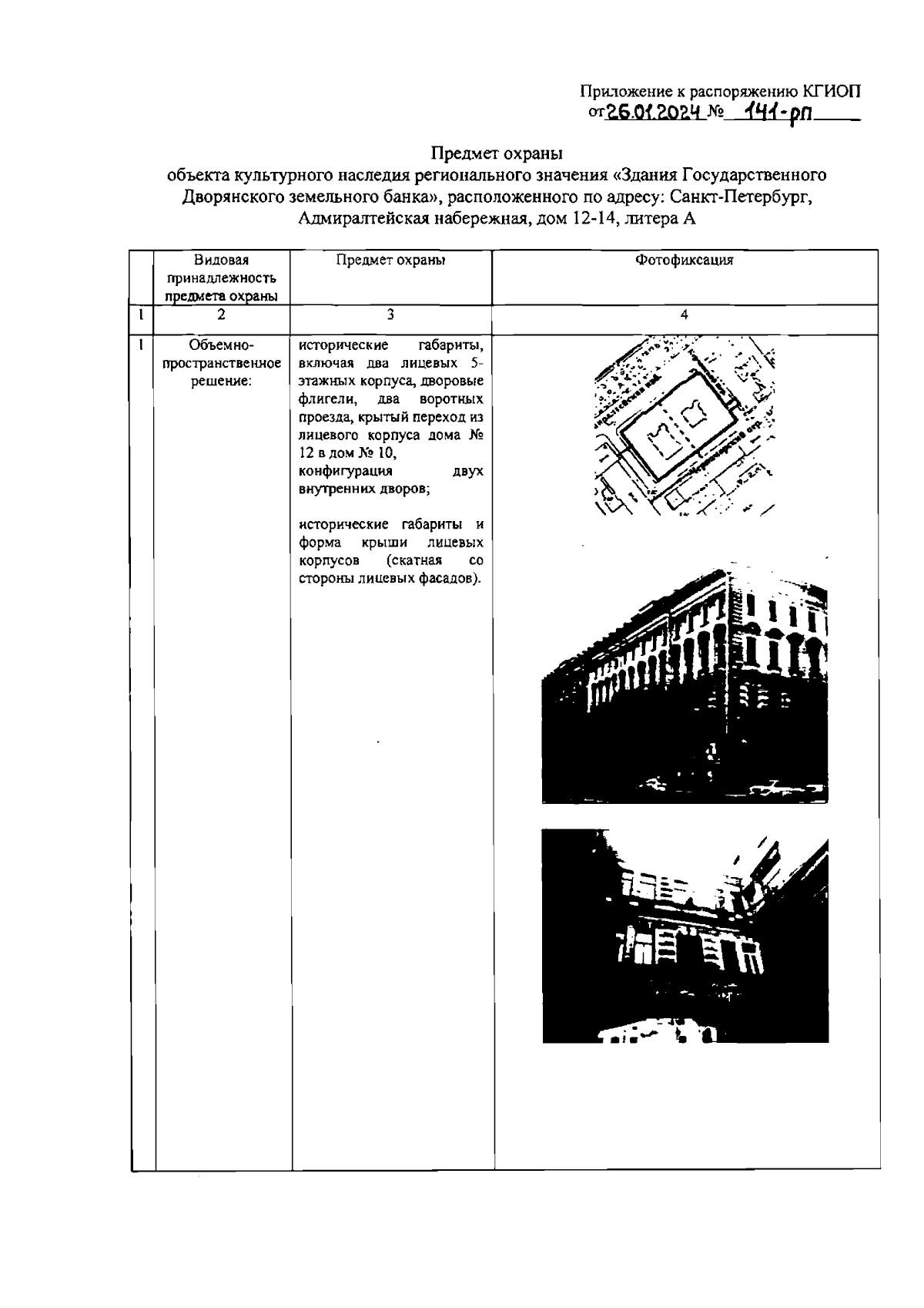
Распоряжение Комитета по государственному контролю, использованию и охране памятников истории и культуры Санкт-Петербурга от 26.01.2024 № 141-рп
"Об утверждении предмета охраны объекта культурного наследия федерального значения "Здания Государственного Дворянского земельного банка"
(Зарегистрирован 29.01.2024 № 36894)
Номер опубликования: 7801202402010006
Дата опубликования: 01.02.2024
Страница №2 из 18:
Увеличить