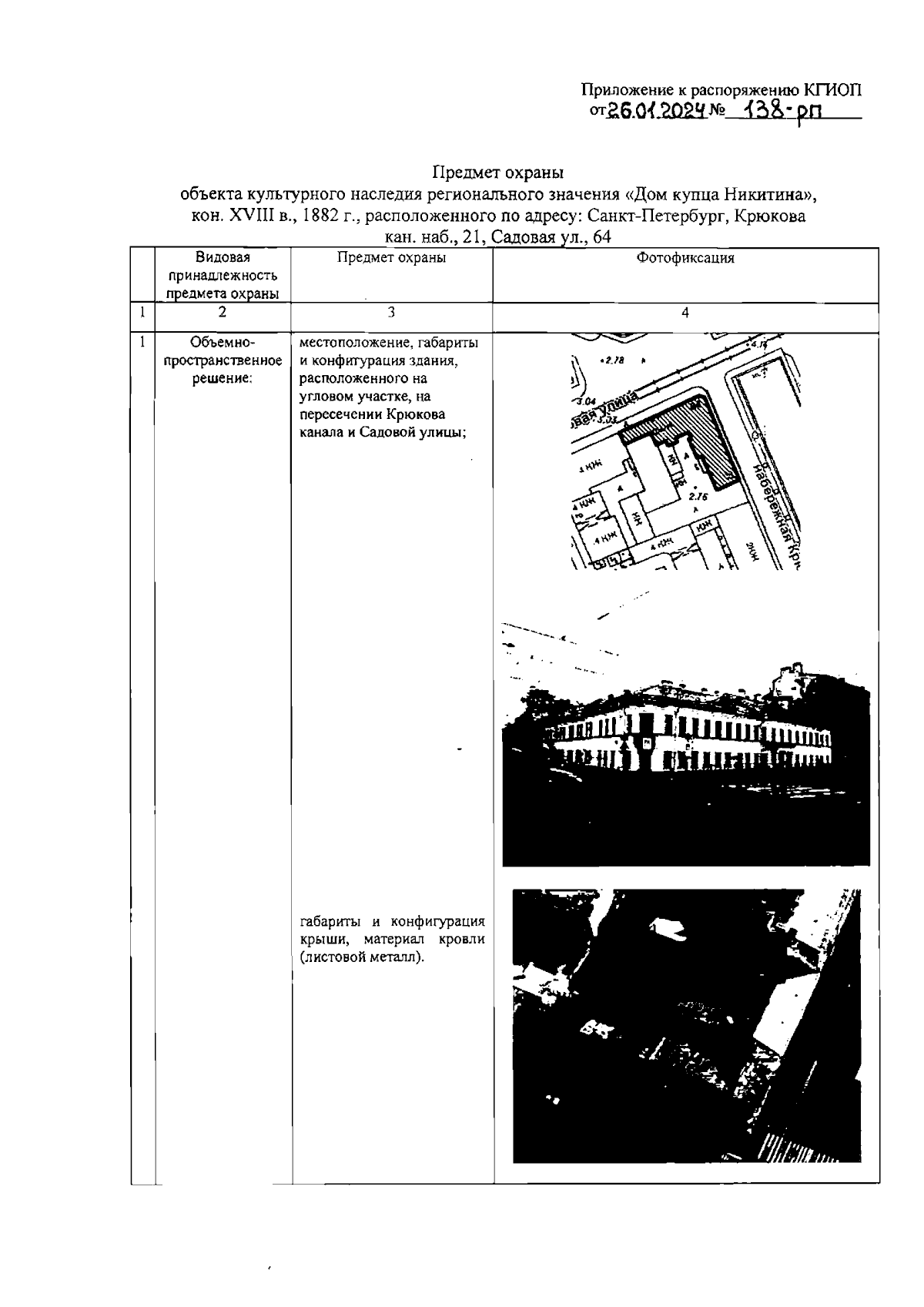
Распоряжение Комитета по государственному контролю, использованию и охране памятников истории и культуры Санкт-Петербурга от 26.01.2024 № 138-рп
"Об утверждении предмета охраны объекта культурного наследия регионального значения "Дом купца Никитина"
(Зарегистрирован 26.01.2024 № 36891)
"Об утверждении предмета охраны объекта культурного наследия регионального значения "Дом купца Никитина"
(Зарегистрирован 26.01.2024 № 36891)
Номер опубликования: 7801202401290017
Дата опубликования:
29.01.2024
