Официальное опубликование правовых актов
ОФИЦИАЛЬНОЕ ОПУБЛИКОВАНИЕ
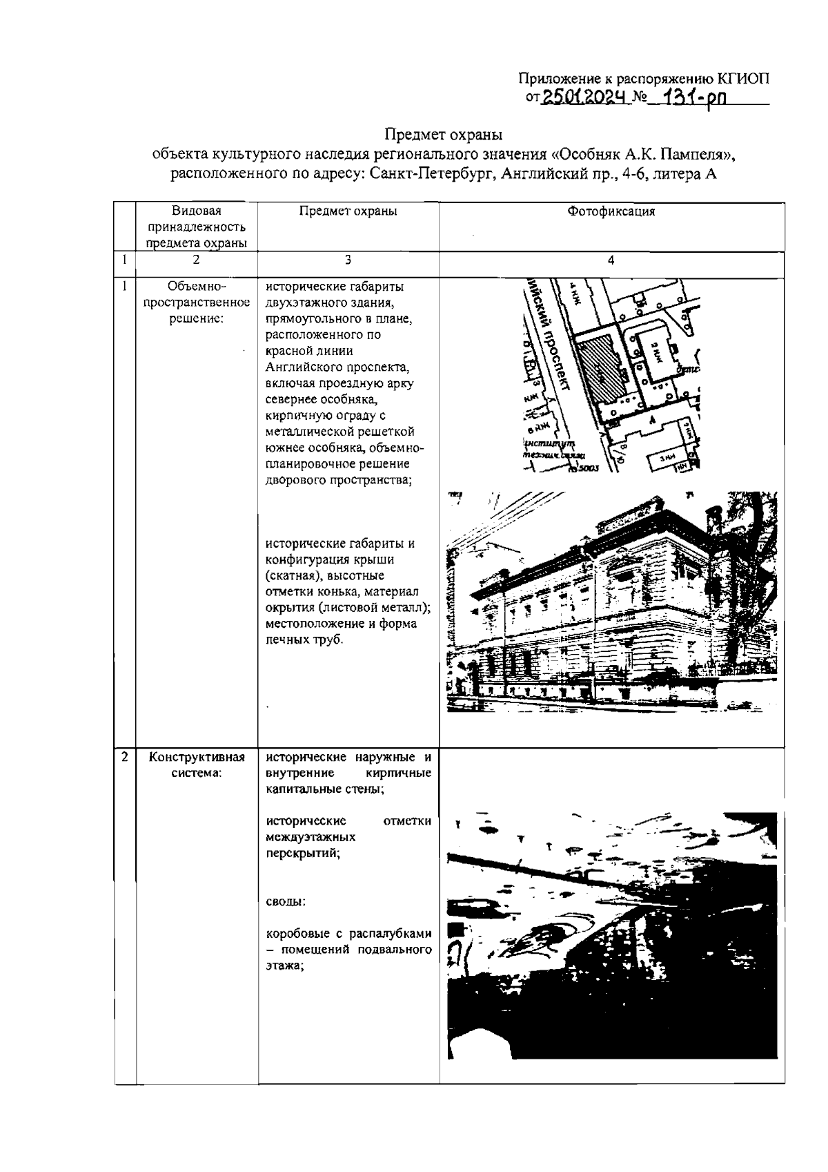
Распоряжение Комитета по государственному контролю, использованию и охране памятников истории и культуры Санкт-Петербурга от 25.01.2024 № 131-рп
"Об утверждении предмета охраны объекта культурного наследия регионального значения "Особняк А.К. Пампеля"
(Зарегистрирован 26.01.2024 № 36885)
Номер опубликования: 7801202401290012
Дата опубликования: 29.01.2024
Страница №2 из 28:
Увеличить