Официальное опубликование правовых актов
ОФИЦИАЛЬНОЕ ОПУБЛИКОВАНИЕ
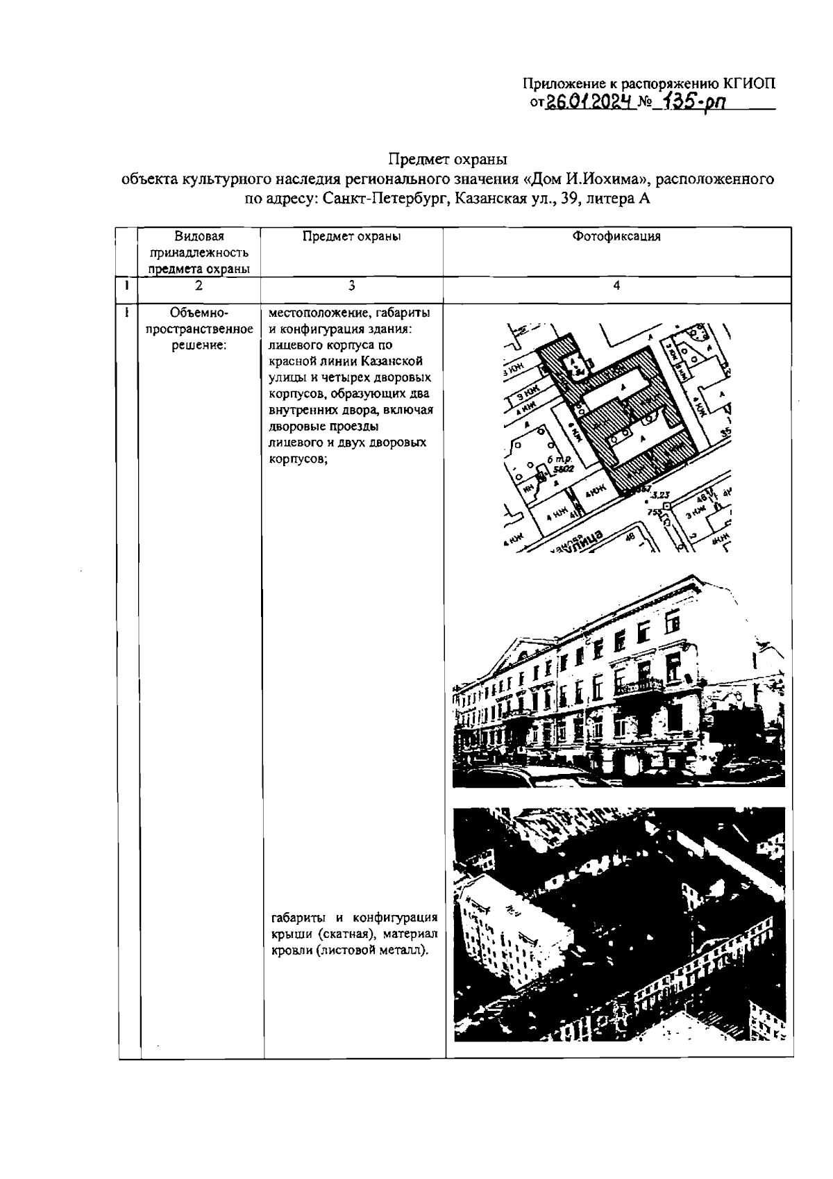
Распоряжение Комитета по государственному контролю, использованию и охране памятников истории и культуры Санкт-Петербурга от 26.01.2024 № 135-рп
"Об утверждении предмета охраны объекта культурного наследия регионального значения "Дом И.Иохима"
(Зарегистрирован 26.01.2024 № 36889)
Номер опубликования: 7801202401290004
Дата опубликования: 29.01.2024
Страница №2 из 6:
Увеличить