Официальное опубликование правовых актов
ОФИЦИАЛЬНОЕ ОПУБЛИКОВАНИЕ
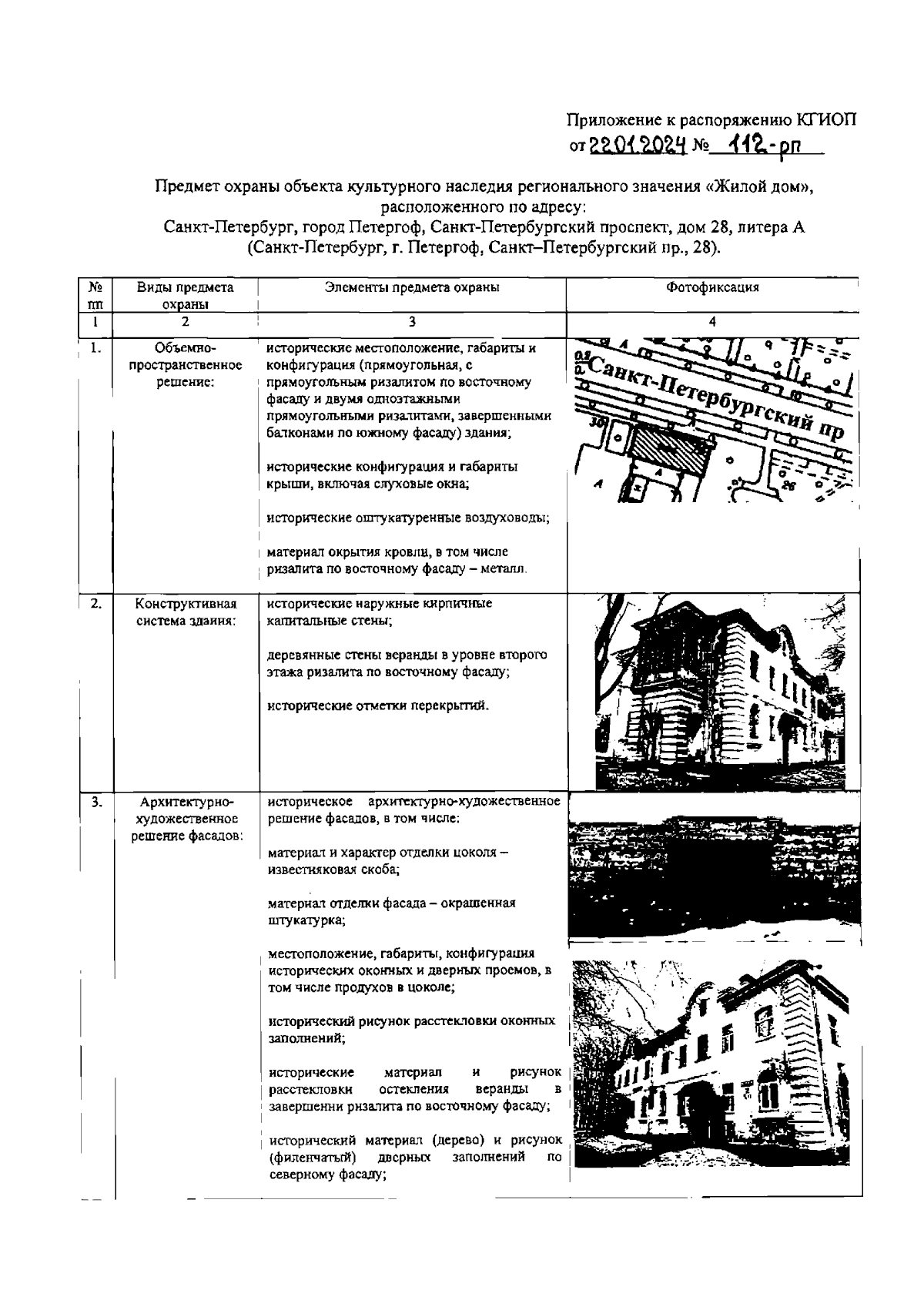
Распоряжение Комитета по государственному контролю, использованию и охране памятников истории и культуры Санкт-Петербурга от 22.01.2024 № 112-рп
"Об утверждении предмета охраны объекта культурного наследия регионального значения "Жилой дом"
(Зарегистрирован 22.01.2024 № 36855)
Номер опубликования: 7801202401250011
Дата опубликования: 25.01.2024
Страница №2 из 3:
Увеличить