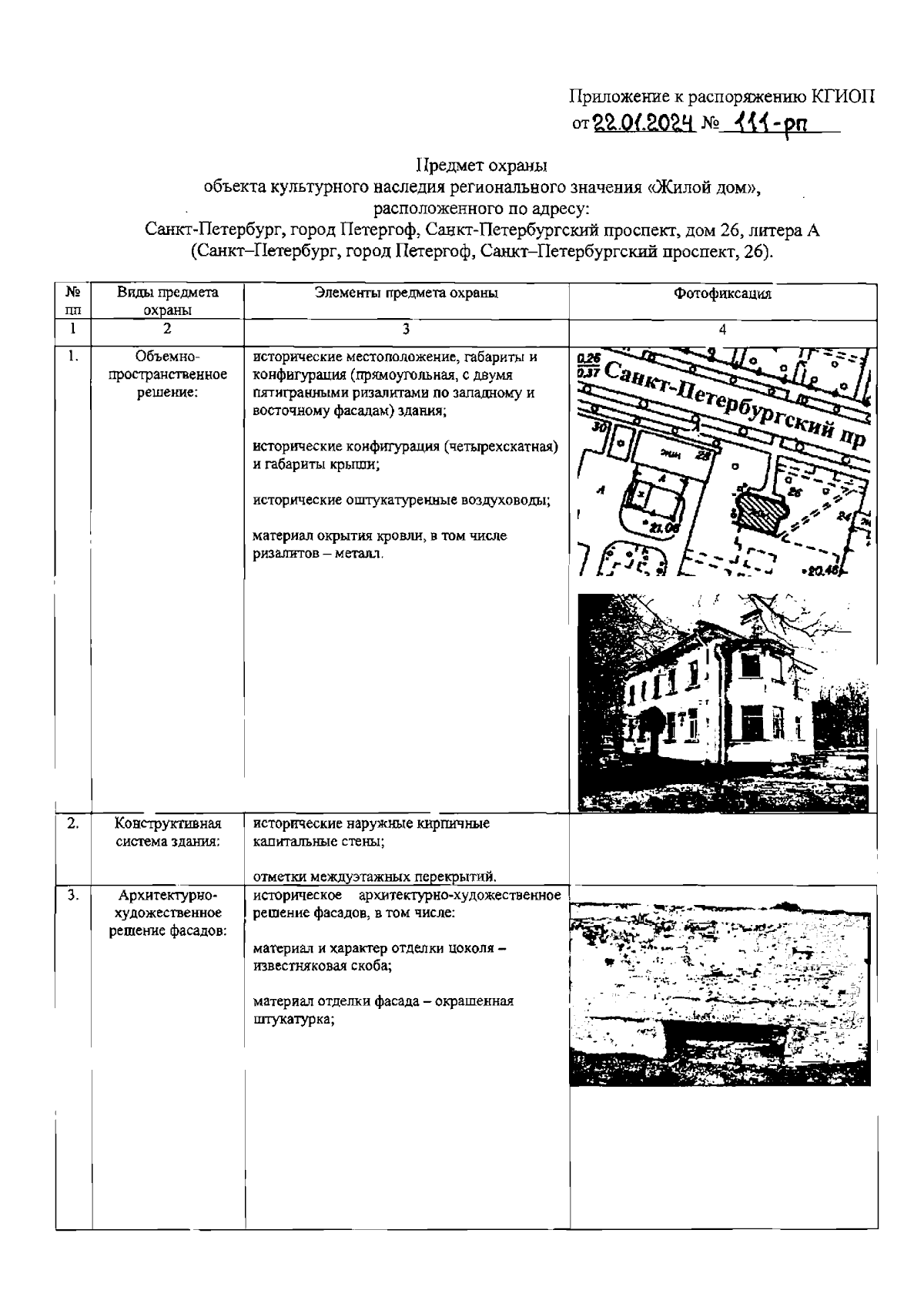
Распоряжение Комитета по государственному контролю, использованию и охране памятников истории и культуры Санкт-Петербурга от 22.01.2024 № 111-рп
"Об утверждении предмета охраны объекта культурного наследия регионального значения "Жилой дом"
(Зарегистрирован 22.01.2024 № 36854)
"Об утверждении предмета охраны объекта культурного наследия регионального значения "Жилой дом"
(Зарегистрирован 22.01.2024 № 36854)
Номер опубликования: 7801202401250004
Дата опубликования:
25.01.2024
