Официальное опубликование правовых актов
ОФИЦИАЛЬНОЕ ОПУБЛИКОВАНИЕ
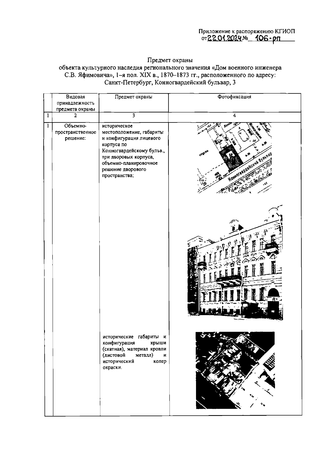
Распоряжение Комитета по государственному контролю, использованию и охране памятников истории и культуры Санкт-Петербурга от 22.01.2024 № 106-рп
"Об утверждении предмета охраны объекта культурного наследия регионального значения "Дом военного инженера С.В. Яфимовича"
(Зарегистрирован 22.01.2024 № 36849)
Номер опубликования: 7801202401250002
Дата опубликования: 25.01.2024
Страница №2 из 12:
Увеличить