Официальное опубликование правовых актов
ОФИЦИАЛЬНОЕ ОПУБЛИКОВАНИЕ
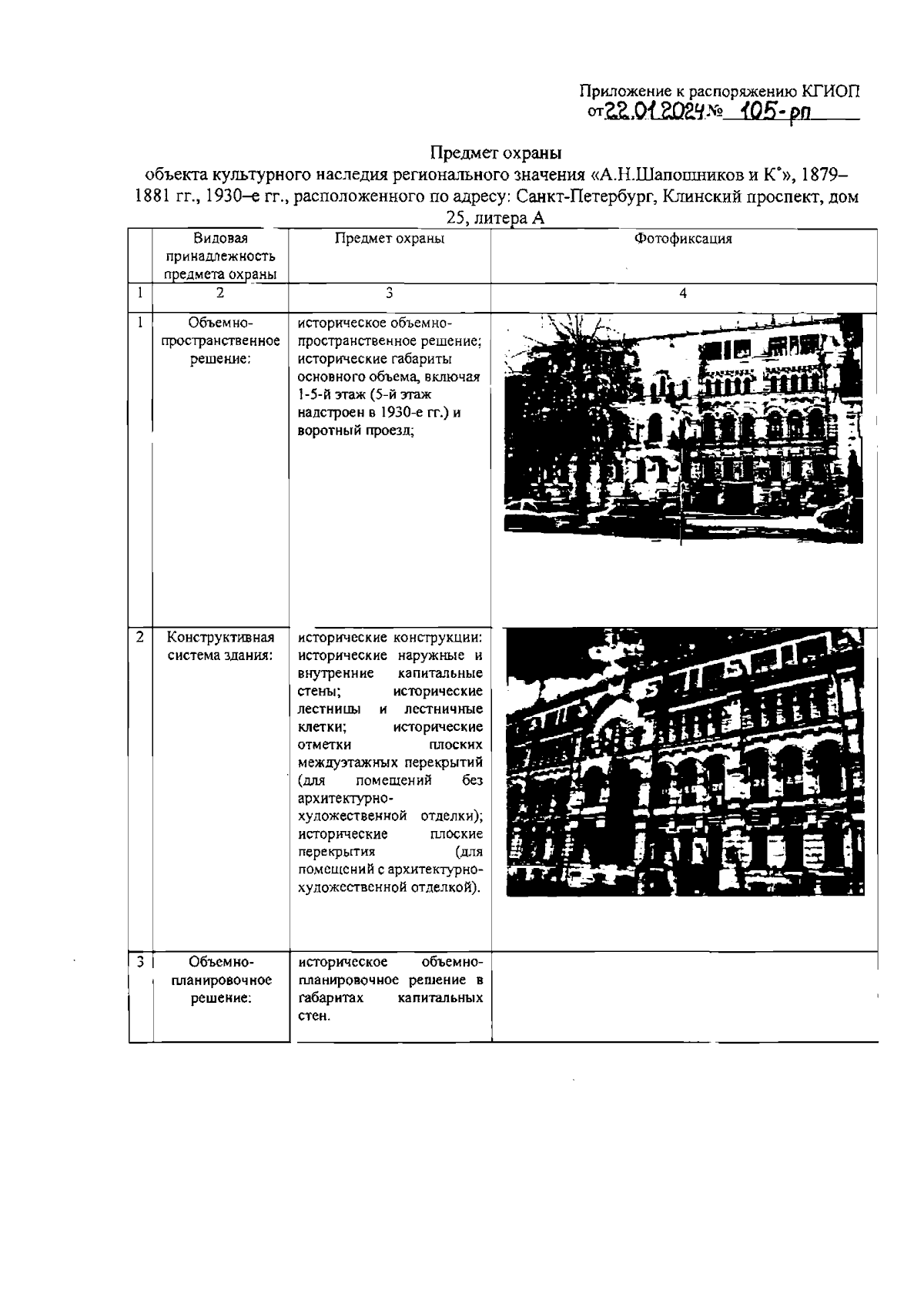
Распоряжение Комитета по государственному контролю, использованию и охране памятников истории и культуры Санкт-Петербурга от 22.01.2024 № 105-рп
"Об утверждении предмета охраны объекта культурного наследия регионального значения "А.Н.Шапошников и Ко"
(Зарегистрирован 22.01.2024 № 36848)
Номер опубликования: 7801202401250001
Дата опубликования: 25.01.2024
Страница №2 из 28:
Увеличить