Официальное опубликование правовых актов
ОФИЦИАЛЬНОЕ ОПУБЛИКОВАНИЕ
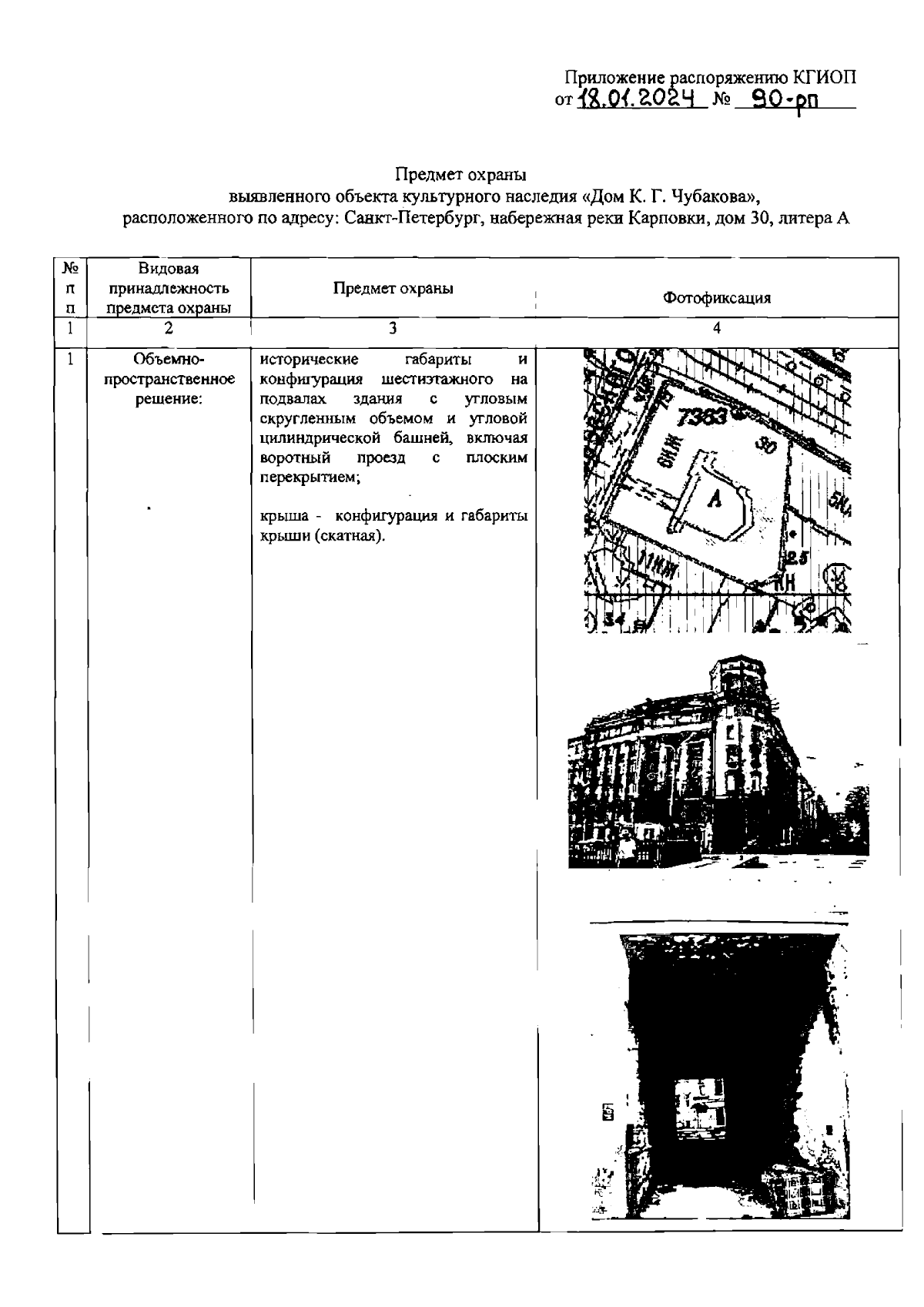
Распоряжение Комитета по государственному контролю, использованию и охране памятников истории и культуры Санкт-Петербурга от 18.01.2024 № 90-рп
"Об утверждении предмета охраны выявленного объекта культурного наследия "Дом К. Г. Чубакова"
(Зарегистрирован 18.01.2024 № 36817)
Номер опубликования: 7801202401220003
Дата опубликования: 22.01.2024
Страница №2 из 9:
Увеличить