Официальное опубликование правовых актов
ОФИЦИАЛЬНОЕ ОПУБЛИКОВАНИЕ
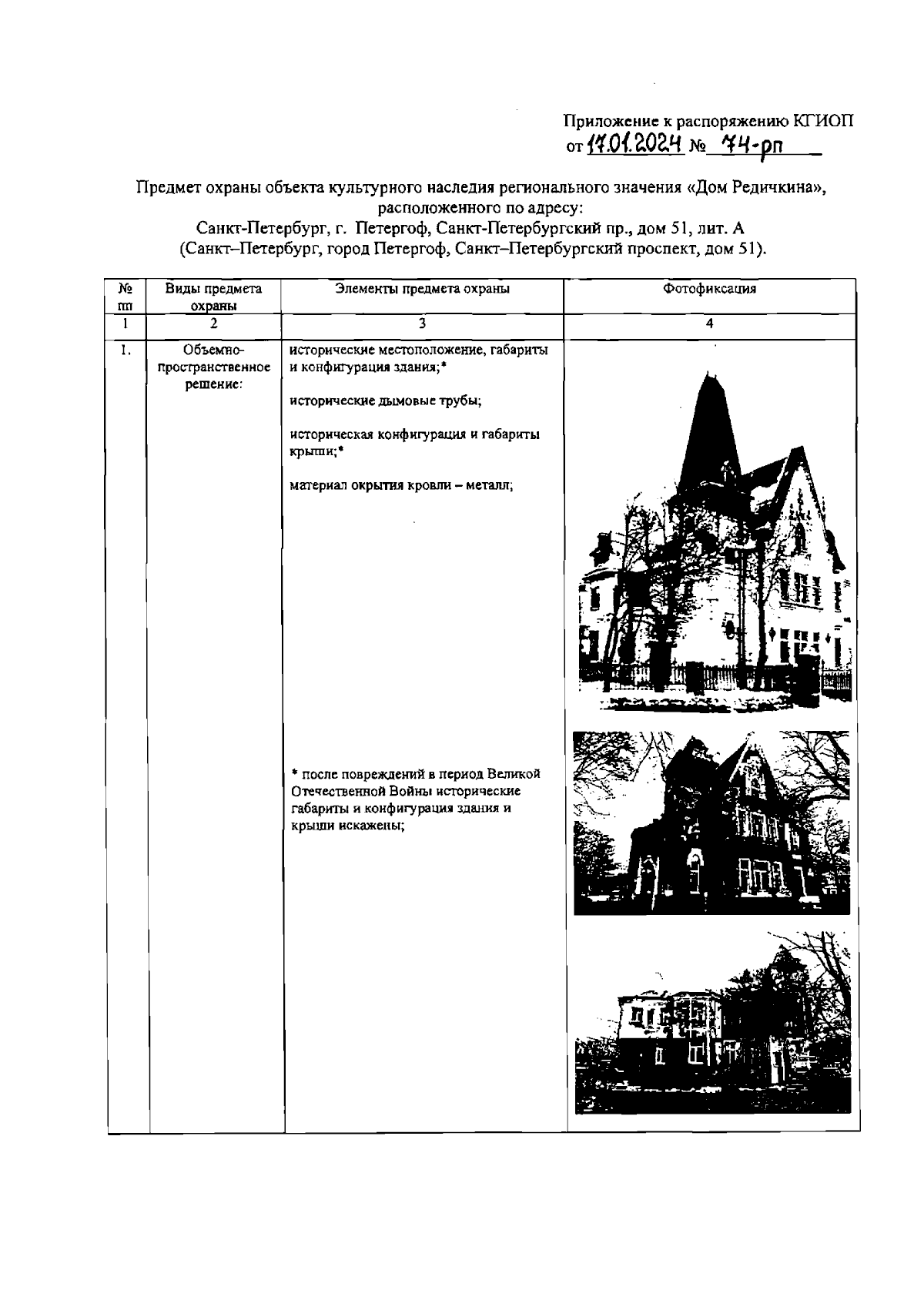
Распоряжение Комитета по государственному контролю, использованию и охране памятников истории и культуры Санкт-Петербурга от 17.01.2024 № 74-рп
"Об утверждении предмета охраны объекта культурного наследия регионального значения "Дом Редичкина"
(Зарегистрирован 18.01.2024 № 36808)
Номер опубликования: 7801202401200004
Дата опубликования: 20.01.2024
Страница №2 из 4:
Увеличить