Официальное опубликование правовых актов
ОФИЦИАЛЬНОЕ ОПУБЛИКОВАНИЕ
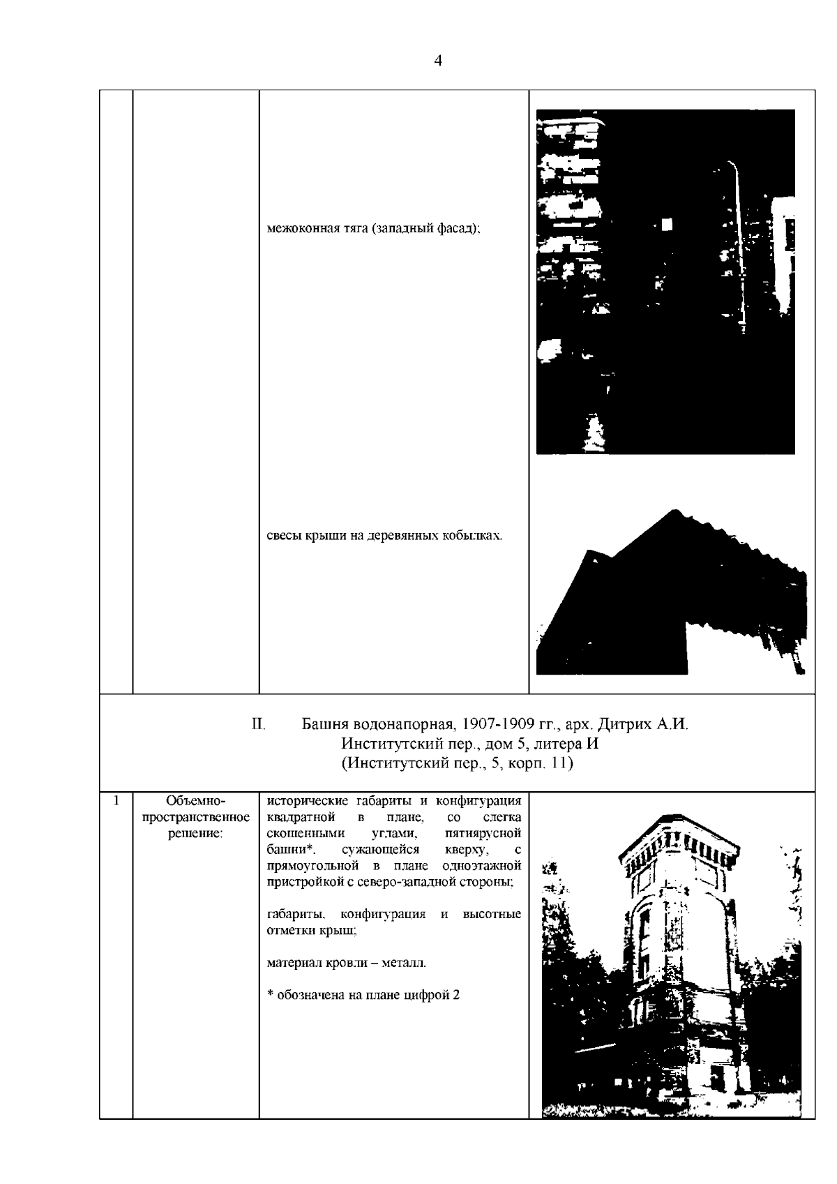
Распоряжение Комитета по государственному контролю, использованию и охране памятников истории и культуры Санкт-Петербурга от 17.01.2024 № 75-рп
"Об утверждении предмета охраны объекта культурного наследия федерального значения "Институт Лесной (Академия лесотехническая)"
(Зарегистрирован 18.01.2024 № 36809)
Номер опубликования: 7801202401200003
Дата опубликования: 20.01.2024
Страница №5 из 65:
Увеличить