Официальное опубликование правовых актов
ОФИЦИАЛЬНОЕ ОПУБЛИКОВАНИЕ
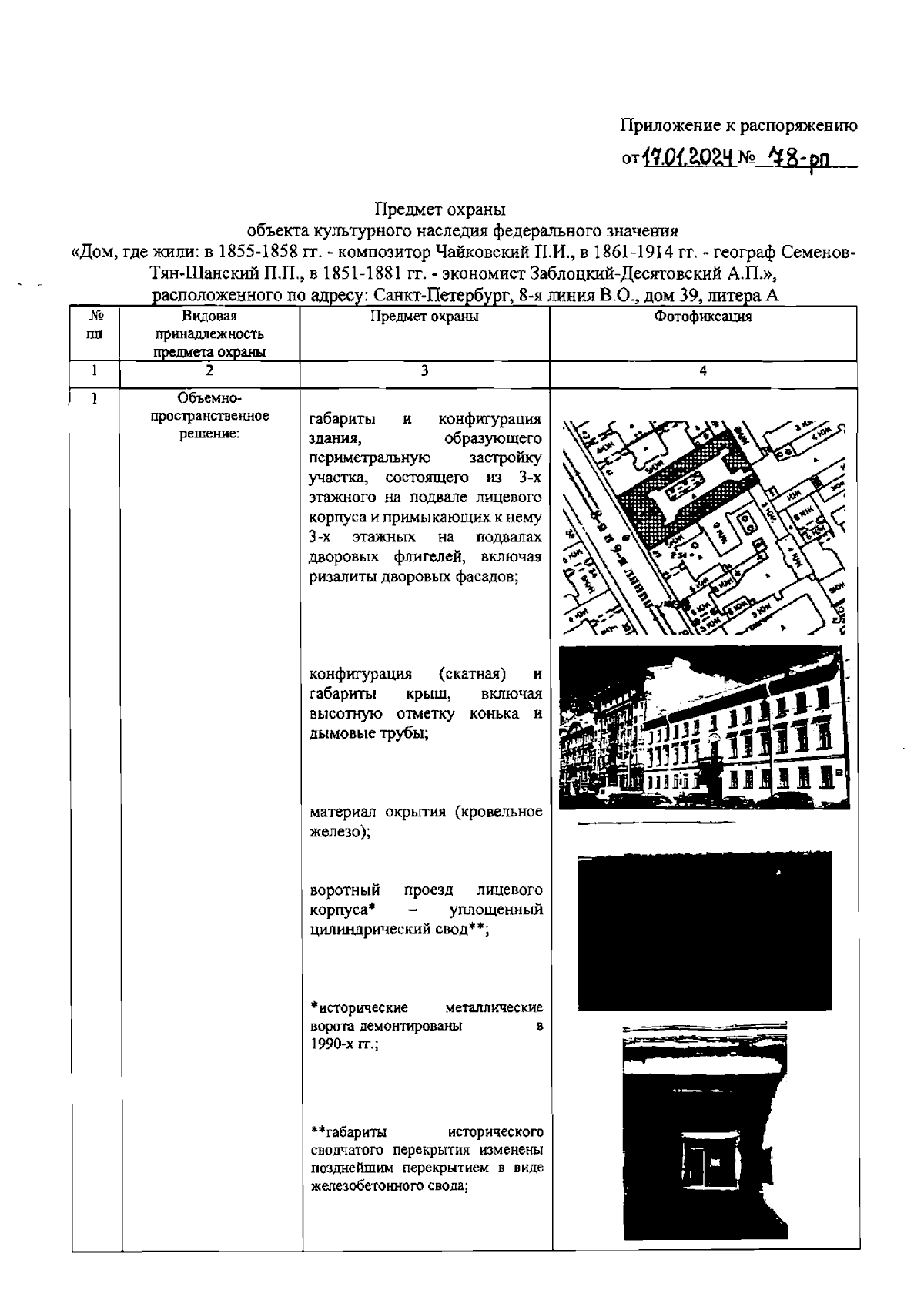
Распоряжение Комитета по государственному контролю, использованию и охране памятников истории и культуры Санкт-Петербурга от 17.01.2024 № 78-рп
"Об утверждении предмета охраны объекта культурного наследия федерального значения "Дом, где жили: в 1855-1858 гг. - композитор Чайковский П.И., в 1861-1914 гг. - географ Семенов-Тян-Шанский П.П., в 1851-1881 гг. - экономист Заблоцкий-Десятовский А.П."
(Зарегистрирован 18.01.2024 № 36812)
Номер опубликования: 7801202401200001
Дата опубликования: 20.01.2024
Страница №2 из 8:
Увеличить