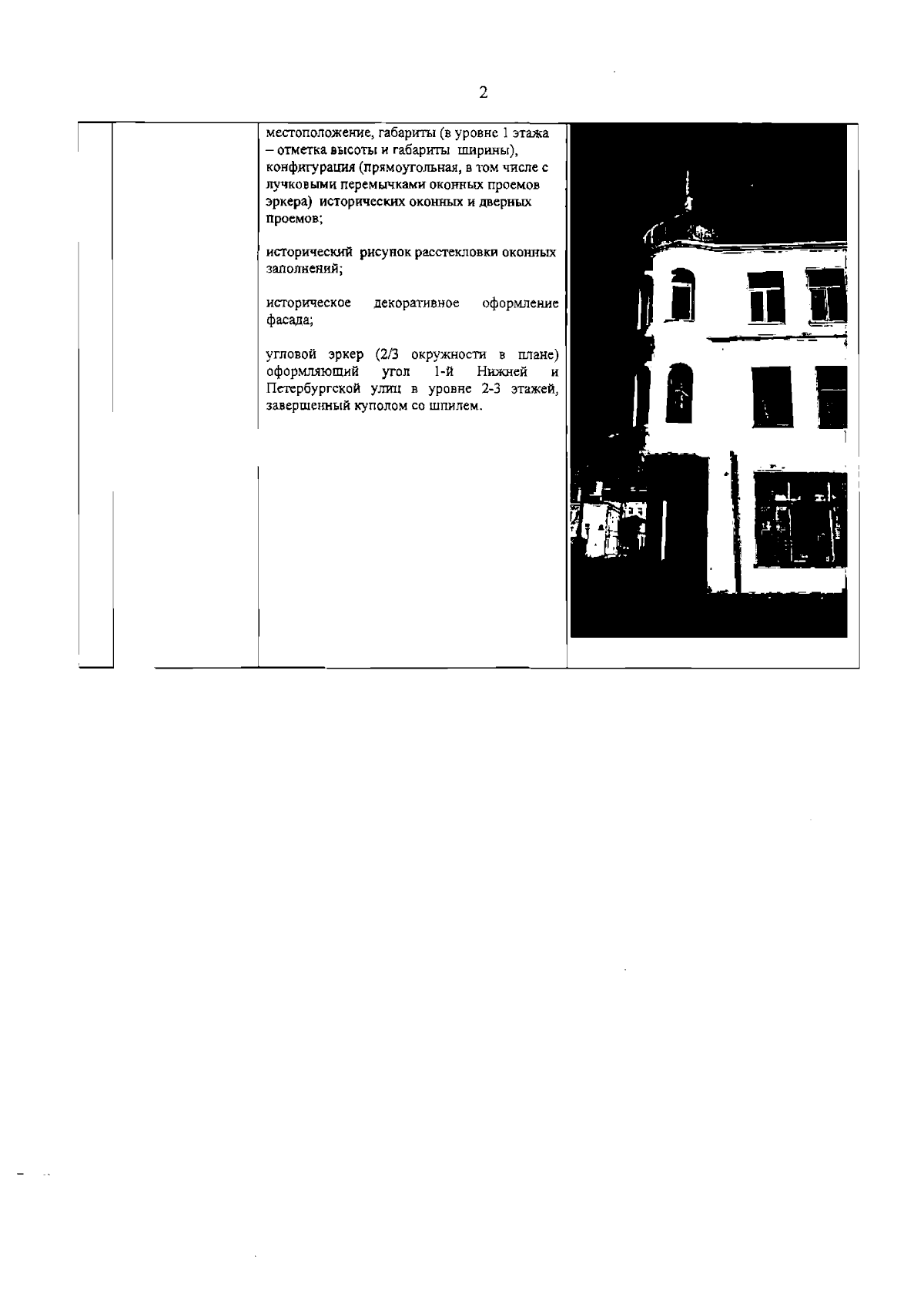
Распоряжение Комитета по государственному контролю, использованию и охране памятников истории и культуры Санкт-Петербурга от 16.01.2024 № 51-рп
"Об утверждении предмета охраны объекта культурного наследия регионального значения "Жилой дом"
(Зарегистрирован 17.01.2024 № 36784)
"Об утверждении предмета охраны объекта культурного наследия регионального значения "Жилой дом"
(Зарегистрирован 17.01.2024 № 36784)
Номер опубликования: 7801202401190002
Дата опубликования:
19.01.2024
