Официальное опубликование правовых актов
ОФИЦИАЛЬНОЕ ОПУБЛИКОВАНИЕ
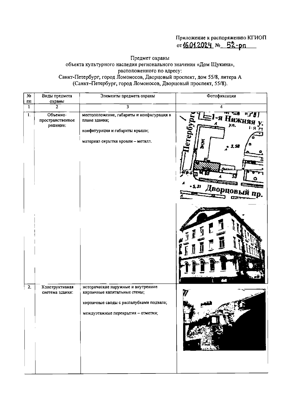
Распоряжение Комитета по государственному контролю, использованию и охране памятников истории и культуры Санкт-Петербурга от 16.01.2024 № 52-рп
"Об утверждении предмета охраны объекта культурного наследия регионального значения "Дом Щукина"
(Зарегистрирован 17.01.2024 № 36785)
Номер опубликования: 7801202401190001
Дата опубликования: 19.01.2024
Страница №2 из 5:
Увеличить