Официальное опубликование правовых актов
ОФИЦИАЛЬНОЕ ОПУБЛИКОВАНИЕ
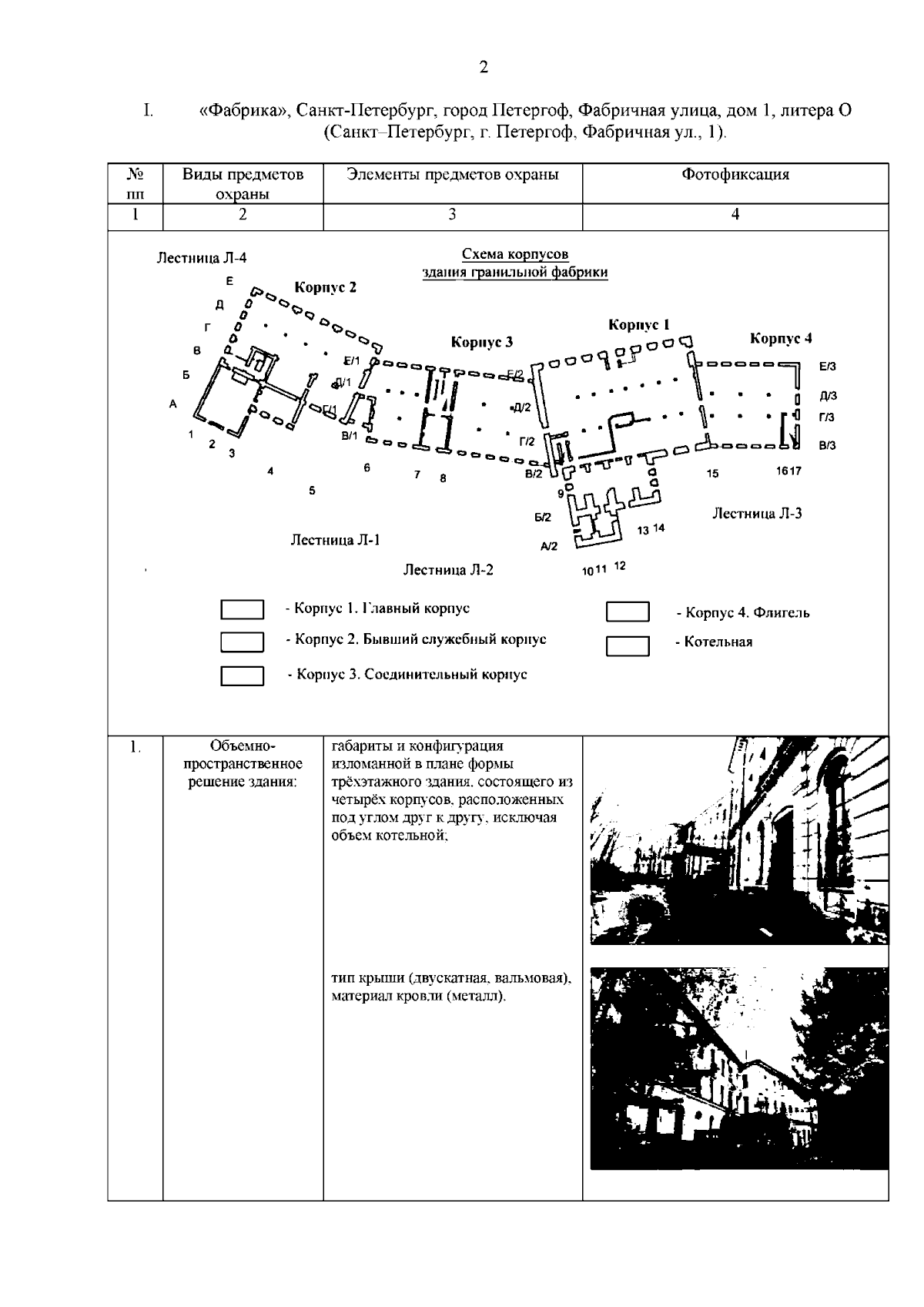
Распоряжение Комитета по государственному контролю, использованию и охране памятников истории и культуры Санкт-Петербурга от 16.01.2024 № 42-рп
"Об утверждении предмета охраны объекта культурного наследия федерального значения "Фабрика гранильная"
(Зарегистрирован 16.01.2024 № 36775)
Номер опубликования: 7801202401180020
Дата опубликования: 18.01.2024
Страница №3 из 11:
Увеличить