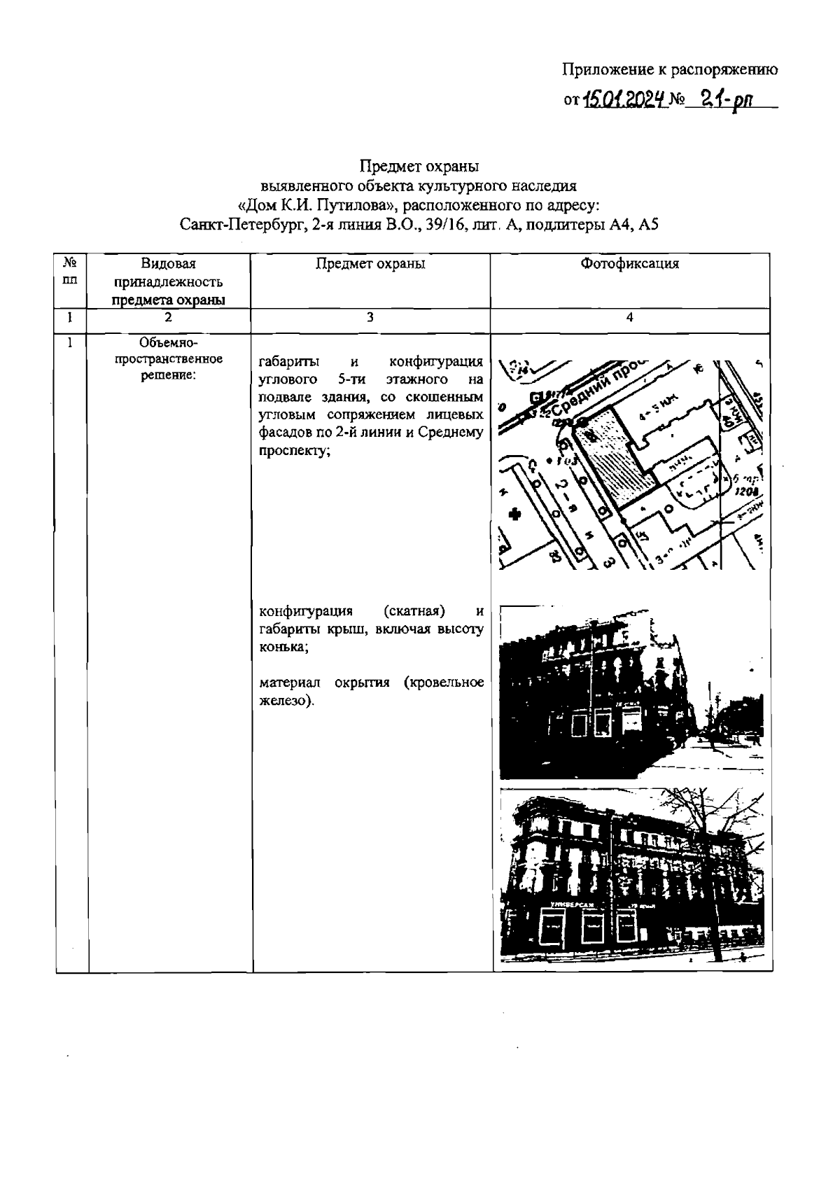
Распоряжение Комитета по государственному контролю, использованию и охране памятников истории и культуры Санкт-Петербурга от 15.01.2024 № 21-рп
"Об утверждении предмета охраны выявленного объекта культурного наследия "Дом К.И. Путилова"
(Зарегистрирован 15.01.2024 № 36748)
"Об утверждении предмета охраны выявленного объекта культурного наследия "Дом К.И. Путилова"
(Зарегистрирован 15.01.2024 № 36748)
Номер опубликования: 7801202401160007
Дата опубликования:
16.01.2024
