Официальное опубликование правовых актов
ОФИЦИАЛЬНОЕ ОПУБЛИКОВАНИЕ
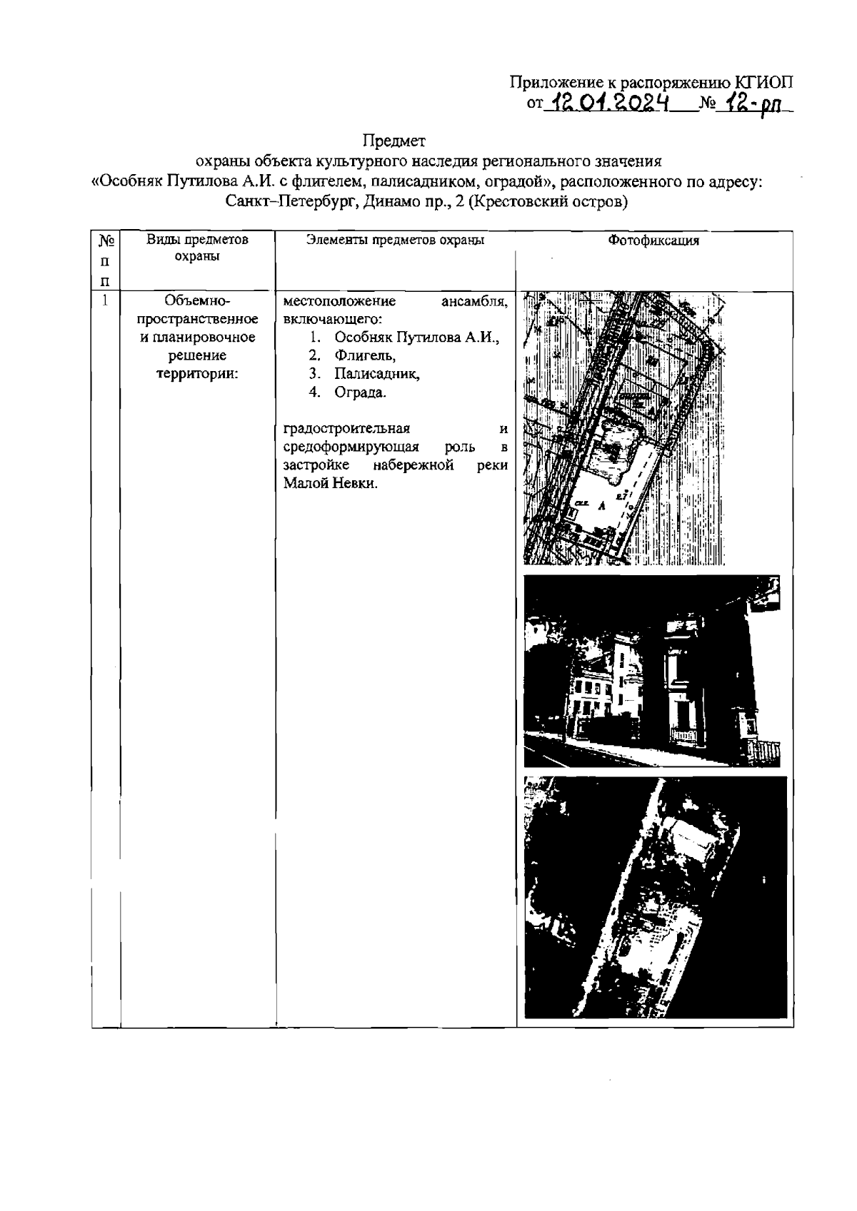
Распоряжение Комитета по государственному контролю, использованию и охране памятников истории и культуры Санкт-Петербурга от 12.01.2024 № 12-рп
"Об утверждении предмета охраны объекта культурного наследия регионального значения "Особняк Путилова А.И. с флигелем, палисадником, оградой"
(Зарегистрирован 12.01.2024 № 36740)
Номер опубликования: 7801202401150028
Дата опубликования: 15.01.2024
Страница №2 из 14:
Увеличить