Распоряжение Комитета по государственному контролю, использованию и охране памятников истории и культуры Санкт-Петербурга от 12.01.2024 № 11-рп
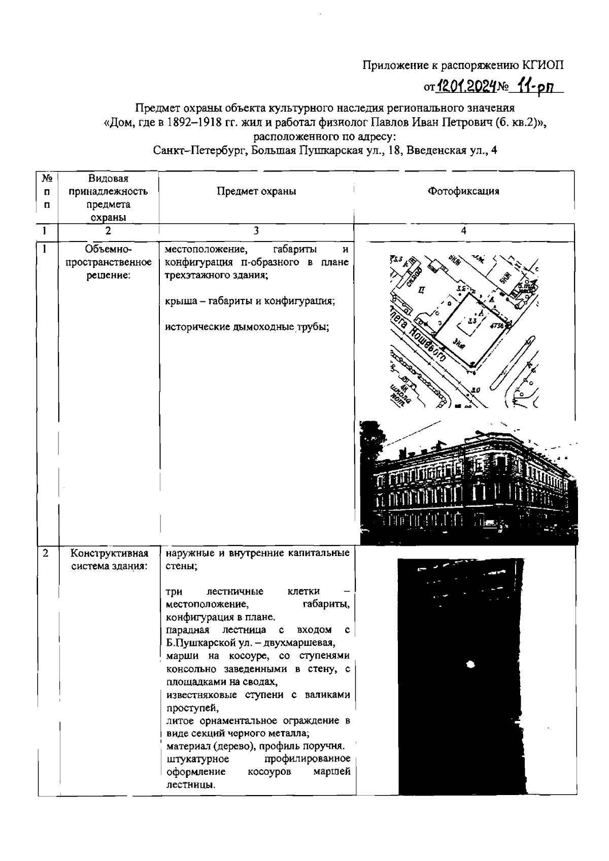
"Об утверждении предмета охраны объекта культурного наследия регионального значения "Дом, где в 1892-1918 гг. жил и работал физиолог Павлов Иван Петрович (б. кв.2)"
(Зарегистрирован 12.01.2024 № 36739)
"Об утверждении предмета охраны объекта культурного наследия регионального значения "Дом, где в 1892-1918 гг. жил и работал физиолог Павлов Иван Петрович (б. кв.2)"
(Зарегистрирован 12.01.2024 № 36739)
Номер опубликования: 7801202401150021
Дата опубликования:
15.01.2024
